1 Introducción

La pultrusión es un proceso continuo altamente automatizado para la fabricación de perfiles estructurales de composite. Este proceso de fabricación ha ganado importancia y popularidad en aplicaciones de infraestructura civil, incluyendo cubiertas de puentes de composite, refuerzos internos de composite para estructuras de hormigón, etc. [1]. Sin embargo, la pultrusión está restringida a radios constantes, bajas tasas de productividad y elevadas fuerza de tiro, ya que el perfil sigue siendo curado dentro del molde [2, 3]. En cambio, curando el perfil fuera del molde, las principales limitaciones de la pultrusión tradicional son superadas [2-4]. Aún así, realizar el curado del composite fuera del molde no es posible utilizando el curado térmico. Por lo tanto, se necesita un método alternativo de curado rápido. Una de esas rutas alternativas es el curado ultravioleta (UV) [2-4]. La industria de curado UV, que se basa en utilizar la energía proveniente de una fuente de luz UV para iniciar la reacción de polimerización, ha alcanzado un alto grado de madurez en los últimos años. El desarrollo de monómeros, oligómeros y fotoiniciadores durante este tiempo ha permitido que la tecnología avance hacia formulaciones muy eficientes para una amplia variedad de aplicaciones [5]. Resinas como las vinilésteres, las epoxi acrilatos o poliésteres insaturadas, cuando se formulan con un fotoiniciador adecuado, pueden curarse rápidamente bajo la exposición a la luz UV [5].

Este nuevo proceso de pultrusión permite nuevos conceptos de diseño, pudiendo fabricar estructuras 3D complejas que pueden ser interesantes, por ejemplo, para aplicaciones civiles. En este caso, se deben tener en cuenta los estrictos requisitos en cuanto a la propagación de las llamas, el humo y la toxicidad, así como las clasificaciones de resistencia al fuego [6]. Algunos estudios de investigación han demostrado que los métodos más empleados para mejorar el comportamiento frente al fuego de los composites son la adición de cargas minerales (alúmina tri-hidratada, ATH) y compuestos reactivos (polifosfato amónico, APP) o el empleo de recubrimientos intumescentes [1,6]. Sin embargo, el uso de curado UV en lugar del curado térmico hace que la puesta a punto del proceso sea completamente diferente. El proceso de curado UV depende de la absorción de la luz UV por el sistema fotoiniciador, por lo que factores como la dispersión, la absorción o el reflejo de la luz a través del material y los diferentes tipos de refuerzos o rellenos tienen una influencia directa en el proceso de curado. En un sistema fotocurable se deben controlar principalmente tres aspectos [5]:

  • Requerimientos funcionales o aplicación. El proceso de curado estará condicionado por aspectos como el espesor, la absorción debida a la matriz o por la presencia de la fibra o cargas.
  • La formulación de la matriz. La correcta formulación de la matriz y del sistema de fotoiniciador permitirá alcanzar las propiedades mecánicas deseadas, con un uso eficiente de la radiación UV y en el menor tiempo posible.
  • La fuente UV. La fuente UV (espectro de emisión, intensidad, etc.) es crucial y condicionará las propiedades mecánicas finales, la formulación y el propio proceso.

El principal problema de añadir cargas minerales, como la ATH, o compuestos reactivos como el APP, a la matriz fotocurable podría ser la disminución de la transmisión de la luz a través del espesor del composite. Una disminución en la transmisión de la luz podría afectar negativamente al curado a través del espesor de los perfiles durante el proceso de pultrusión UV fuera del molde, reduciendo el espesor máximo fabricable mediante este proceso. En cambio, el empleo de un recubrimiento intumescente posteriormente al curado de la pieza, evitaría los problemas arriba descritos.

Por lo tanto, el objetivo de este estudio consiste en analizar el efecto de la ATH, el APP y un recubrimiento intumescente sobre las propiedades mecánicas y ópticas, la cinética de curado y la resistencia al fuego de composites curados mediante radiación UV.

2 Experimental

2.1 Materiales

El compuesto utilizado en este estudio es un composite de viniléster y fibra de vidrio curado mediante radiación UV. El refuerzo consiste en una banda cuasi-unidireccional de vidrio E de 400 g/m2 y 115 mm de ancho. El refuerzo se describe como cuasi-unidireccional debido a la pequeña proporción de fibras a 90º (8% en volumen) que mantienen la cohesión de las fibras unidireccionales. En cuanto a la resina, se ha utilizado como formulación base una viniléster fotocurable suministrado por Irurena Group (IRUVIOL GFR-17 LED).

El sistema fotoiniciador seleccionado es una combinación de óxido de bis (2,4,6-trimetilbenzoil)-fenilfosfina (BAPO) y 2-dimetilamino-2-(4-metil-bencil)-1-(4-morfolin-4-il-fenil)-butan-1-ona (α aminoketona). El primero es un fotoiniciador de curado en profundidad, mientras que el segundo es un fotoiniciador de curado superficial. Cabe destacar que se ha demostrado que estos fotoiniciadores son adecuados para el curado UV de composites similares mediante un proceso de fotopolimerización radicalaria [3, 4]. Para aumentar la resistencia al fuego de la formulación, se han analizado tres estrategias ignifugantes:

  • Una ATH denominada MoldX® P12, especialmente formulada para su uso en pultrusión (contenido de fibra superiores al 65 % en peso). Para este estudio, se ha empleado una proporción de 30 phr de ATH, en base a un estudio preliminar realizado con anterioridad [7].
  • Un APP empleado por Irurena que es empleado para su uso en recubrimientos ignífugos fotocurables para madera. En este estudio se han analizado dos formulaciones de APP: una con 5 phr y otra con 15 phr.
  • Un recubrimiento ignífugo intumescente OROFIRE 651 proveído por Irurena Group. Este recubrimiento no interfiere directamente con el proceso de curado UV, pero se analizará su efecto en la resistencia al fuego.

Todas las formulaciones fueron modificadas para su futuro empleo en pultrusión, adaptando su formulación y ajustando la viscosidad a 800 cps.

2.2 Fabricación de los composites

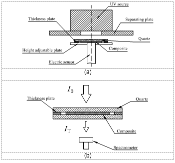
Las probetas empleadas para el análisis de las diferentes estrategias de ignifugación se fabricaron mediante hand-layup, con un espesor de 2 mm (asegurado por chapas calibradas). La fuente UV utilizada fue una fuente Phoseon FireFlex UV LED, con una ventana de emisión de 75 × 50 mm2. Su intensidad máxima es de 8 W/cm2 y el pico de emisión de esta fuente UV se encuentra en 395 nm. Es necesario mencionar que las probetas sólo fueron irradiadas por un lado como se muestra en la Figura 1 con una intensidad de 585 mW/cm2.

2.3 Caracterización óptica y de cinética de curado

En relación con el curado y el análisis óptico, se han utilizado dos utillajes diferentes:

  • El primero analiza el proceso de curado (Figura 1a) y se basa en la medición de la resistencia eléctrica (siguiendo el procedimiento descrito por Tena et al. [4]) en la superficie no expuesta (que es la última zona en ser curada) del compuesto a través de un sensor DC [4, 8].
  • La segunda herramienta se utiliza para analizar la transmisión de la luz UV a través del espesor durante el proceso de curado, determinando la intensidad transmitida a través del composite (IT). Para ello, se ha utilizado el espectrómetro StellarNet Black-Comet con un rango de medición de longitud de onda comprendido entre 190-850 nm. El esquema de la configuración del análisis óptico se muestra en la Figura 1b. Cabe remarcar que las placas de cuarzo fueron previamente caracterizadas ópticamente para desacoplar su efecto de la absorción del composite. La distancia entre la fuente UV y la muestra para todas las probetas fue de 124 mm. La intensidad incidente (I0) en la parte superior del composite fue de 585 mW/cm2 (igual para los dos tipos de ensayo), la cual fue previamente medida mediante espectrometría.
Captura de pantalla 2022-05-01 231715.png
Figura 1. Diagramas de los utillajes de análisis del curado (a) y del análisis óptico (b).

2.4 Caracterización mecánica

Debido a que las propiedades de tracción dominadas por la fibra presentarían propiedades similares para todas las probetas, con el fin de determinar el efecto del contenido de ATH y de APP en el proceso de curado, el método de ensayo elegido fue la flexión en viga corta, ILSS (Interlaminar Shear Strength) (ASTM D 2344), ya que el modo de fallo es dependiente de la matriz. De acuerdo con este método, la Figura 2 muestra las dimensiones de las probetas a ensayar: donde l es la longitud de la probeta; e, el espesor de la probeta; y, b es el ancho de la probeta. La distancia entre apoyos ha de ser cuatro veces el espesor.

Draft Compuestos 547379622-image7-c.png
Draft Compuestos 547379622-image8.png
Figura 2. Ensayo de flexión 3 puntos en viga corta.

Todos los ensayos se realizaron a una velocidad de 1 mm/min con una célula de carga de 5 kN. En cada caso se ensayaron 5 probetas de cada tipo. La resistencia interlaminar en flexión de viga corta se calcula mediante la siguiente ecuación:

(1)


donde, Fsbs es la resistencia interlaminar en viga corta (MPa) y Pm es la carga máxima soportada (N).

2.5 Caracterización física

La viscosidad de las diferentes formulaciones se determinó según la norma ISO 2555, utilizando un viscosímetro rotacional MYR VR 3000. Las secciones pulidas transversales de las muestras fabricadas fueron examinadas mediante Microscopía Electrónica de Barrido (SEM) usando un microscopio FEI Nova Nano SEM 450 con el fin de analizar cualitativamente la distribución de fibras y vacíos, la dispersión de las cargas y corroborar el fallo interlaminar (después del ensayo ILSS).

2.6 Caracterización de la resistencia al fuego

Para comparar y evaluar los tiempos mínimos de ignición de los componentes finales, se ha definido un método para determinar el tiempo que los componentes obtenidos mantienen su integridad. El ensayo se presenta en la Figura 3 y se define mediante las siguientes características:

  • Ensayo flexión 3 puntos con llama (mechero bunsen) en el centro.
  • Dimensiones de probeta 115 mm × 400 mm × 2 mm.
  • Distancia entre apoyos: 350 mm.
  • El comportamiento al fuego se mide comparando visualmente la flexión (d) en el tiempo de las diferentes formulaciones.
  • La carga de flexión (F) es de 2,5 kg.
  • La distancia entre el mechero y la muestra es de 150 mm.
Draft Compuestos 547379622-image9-c.png
Figura 3. Ensayo para caracterizar el comportamiento al fuego de las diferentes formulaciones.

3 Resultados y discusión

Con respecto a las propiedades ópticas durante el proceso de curado, la Figura 4a muestra la evolución de la intensidad transmitida (IT) para todas las muestras en función del tiempo. Se puede observar que la probeta cargada con ATH (30 phr) presenta una reducción de aproximadamente el 20 % de la intensidad transmitida (IT) final. Por otro lado, en la probeta cargada con APP (5 phr) la reducción se incrementa notablemente hasta el 85 %. Un aspecto a tener en cuenta para el empleo de estas formulaciones en el proceso de pultrusión UV es la intensidad transmitida al comienzo del proceso de curado. Cuanto mayor sea la intensidad absorbida durante este período inicial, mayor será la probabilidad de sufrir una expansión del perfil a la salida del molde. Por ello, analizando las diferentes probetas se podría concluir que la formulación con APP es la que mayor riesgo de expansión presenta. No obstante, este hecho debe ser corroborado en futuros estudios ya que el empleo de dos fuentes UV (una por cada lado del perfil) podría paliar o incluso evitar este problema. La Figura 4b, Figura 4c y Figura 4d presentan el espectro de la intensidad transmitida (IT) de todas las muestras para 10 s, 30 s y 150 s de exposición de luz UV, respectivamente. El objetivo de analizar estos espectros es observar las variaciones del espectro de la intensidad transmitida, evaluando si la presencia de los diferentes ignifugantes varía el rango de absorción del composite. Se observa que la transmisión de luz se ve reducida por la presencia de los ignifugantes, siendo mayor en las fases iniciales de curado para el caso del ATH. En cambio, la presencia de APP reduce significativamente el espectro de la intensidad transmitida. Aun así, se debe enfatizar que el empleo de los dos ignifugantes no varía el rango de absorción del composite, por lo que el rango de absorción de los fotoiniciadores sigue siendo adecuado. Finalmente, se ha de remarcar que no se muestra ninguna curva referida a las probetas cargadas con 15 phr de APP debido a que presenta una absorción completa de la radiación UV, por lo que no se aconseja su uso en fotopolimerización de composites de grandes espesores. Así mismo, no se analiza la transmitancia del recubrimiento intumescente ya que su aplicación es posterior al curado UV del composite.

Draft Compuestos 547379622-image10-c.png
(a)
Draft Compuestos 547379622-image11-c.png
(b)
Draft Compuestos 547379622-image12-c.png
(c)
Draft Compuestos 547379622-image13-c.png
(d)


Figura 4. Evolución de la IT en función del tiempo para todas las probetas durante el proceso de curado (a); diferentes espectros de la IT de todas las probetas para 10 s (b), 30 s (c) y 150 s (d) de exposición a la luz UV.

En la Figura 5a se muestra el análisis de la evolución del grado de curado basado en la resistencia eléctrica del composite. Analizando estas curvas, se puede determinar que la reducción de la transmisión de luz UV en las probetas ignifugadas ralentiza el proceso de curado. Debido a la mayor absorción, la luz incidente tarda más en alcanzar la cara no expuesta del composite, con lo que el comienzo del proceso de curado se ve ralentizado en las condiciones analizadas. Por otro lado, aun cuando la absorbancia de radiación es mayor en el caso del APP, las probetas cargadas presentan prácticamente la misma evolución de la conversión y de la velocidad de conversión (Figura 5b) en función del tiempo. Esto podría deberse a un aumento de reactividad aportado por la adición del APP. Este efecto y la ralentización en la posible generación de expansión a la salida del molde (debida a la presencia de ATH o APP), será objeto de futuros estudios.

Draft Compuestos 547379622-image14-c.png
(a)
Draft Compuestos 547379622-image15-c.png
(b)


Figura 5. Evolución de la conversión (a) y de la velocidad de conversión (b) en función del tiempo para todas las muestras.

Con respecto a la caracterización mecánica, no se han reportado diferencias significativas de las propiedades interlaminares en los composites cargados con ATH o APP en comparación con la formulación base, como se presenta en la Figura 6a. Aun así, puede intuirse una leve disminución de la resistencia interlaminar de las probetas cargadas. Para determinar si el fallo de las muestras probadas era interlaminar, todas las muestras ensayadas se analizaron mediante SEM, corroborando que todas ellas presentan el mismo modo de fallo interlaminar después del ensayo.

Draft Compuestos 547379622-image16-c.png
Figura 6. Valores de ILSS para las diferentes formulaciones analizadas.

La dispersión homogénea de las partículas de ATH en las probetas puede corroborarse analizando la Figura 7.

Draft Compuestos 547379622-image17.png
Figura 7. Vista detallada de la dispersión de las partículas de ATH en la sección transversal.

Los resultados de los ensayos de resistencia al fuego de las diferentes formulaciones (formulación base, formulación con ATH, formulación con APP y formulación base con recubrimiento intumescente) se muestran en la Figura 8, la Figura 9, la Figura 10 y la Figura 11, respectivamente. En cada una de esas figuras se presenta el inicio del ensayo y 4 instantes representativos de cada ensayo. Analizando los resultados de la formulación base, se observa que el tiempo antes del fallo de la probeta es aproximadamente 160 segundos. Durante el ensayo se pudo determinar que, debido a la combustión de la probeta, se produjo una llama que no se apagó hasta el fallo catastrófico de la misma. Entrando a analizar las estrategias de ignifugación estudiadas, la incorporación de 5 phr de APP, mejora sustancialmente su resistencia al fuego, aumentando la integridad de la probeta hasta los 9 minutos. Además, la presencia de APP es capaz de apagar la llama de combustión durante el ensayo. Analizando el comportamiento de las probetas con 30 phr de ATH y las recubiertas con pintura intumescente, se ha determinado una mejora significativa de la resistencia al fuego. Mientras que la formulación base y las probetas con APP fallaron durante el ensayo (aunque a diferentes tiempos de ensayo), las probetas con ATH y las recubiertas no sufrieron daños durante el mismo, resistiendo 25 minutos sin combustión alguna (después de este tiempo el ensayo se dio por concluido).

Draft Compuestos 547379622-image18.png
(a)
Draft Compuestos 547379622-image19.png
(b)
Draft Compuestos 547379622-image20.png
(c)
Draft Compuestos 547379622-image21.png
(d)
Draft Compuestos 547379622-image22.png
(e)


Figura 8. Ensayo de resistencia al fuego de la formulación base: inicio del ensayo (a), 120 s (b), 150 s (c), 160 s (d) y 162 s (e).
Draft Compuestos 547379622-image23-c.png
(a)
Draft Compuestos 547379622-image24-c.png
(b)
Draft Compuestos 547379622-image25-c.png
(c)
Draft Compuestos 547379622-image26-c.png
(d)
Draft Compuestos 547379622-image27-c.png
(e)


Figura 9. Ensayo de resistencia al fuego de la formulación con ATH: inicio del ensayo (a), 5 min (b), 10 min (c), 15 min (d) y 25 min (e).
Draft Compuestos 547379622-image28.png
(a)
Draft Compuestos 547379622-image29.png
(b)
Draft Compuestos 547379622-image30.png
(c)
Draft Compuestos 547379622-image31.png
(d)
Draft Compuestos 547379622-image32.png
(e)


Figura 10. Ensayo de resistencia al fuego de la formulación con APP: inicio del ensayo (a), 1 min (b), 2 min (c), 8 min (d) y 9 min.
Draft Compuestos 547379622-image33-c.png
(a)
Draft Compuestos 547379622-image34-c.png
(b)
Draft Compuestos 547379622-image35-c.png
(c)
Draft Compuestos 547379622-image36-c.png
(d)
Draft Compuestos 547379622-image37-c.png
(e)


Figura 11. Ensayo de resistencia al fuego con recubrimiento intumescente: (a), 5 min (b), 10 min (c), 15 min (d) y 25 min (e).

Finalmente, la Figura 12 muestra una comparativa de la flecha del ensayo de resistencia al fuego de las diferentes estrategias ignifugantes en comparación con la formulación base. El comportamiento de las probetas con ATH y las recubiertas con pintura intumescente son las que mayor resistencia al fuego han mostrado, presentando un desplazamiento en el centro de la probeta muy similar.

Draft Compuestos 547379622-image38.png
Figura 12. Comparativa del desplazamiento del ensayo de resistencia al fuego de las diferentes probetas.

Finalmente, en la Figura 13 se muestra el estado de las probetas después de los ensayos de fuego. En ella se observa que las probetas con recubrimiento y con ATH presentan una zona afectada mucho más reducida que la formulación base y la formulación con APP (que fallaron durante el ensayo), además de no presentar daño en el composite.

Draft Compuestos 547379622-image39.png
Figura 13. Estado de las probetas después del ensayo de fuego.

4 Conclusiones

Este estudio ha analizado el efecto de la incorporación de ATH, APP y el empleo de un recubrimiento intumescente sobre las propiedades mecánicas y ópticas, sobre la cinética de curado y sobre la resistencia al fuego de composites curados mediante radiación UV. Se han podido extraer las siguientes conclusiones principales:

  • La transmisión de luz UV durante el proceso de curado se ve afectada por la presencia de 30 phr de ATH reduciendo la intensidad transmitida aproximadamente un 20 % en comparación con la formulación base. En el caso de la formulación con 5 phr de APP, la disminución de la transmisión de la luz UV es más acusada, alcanzando una reducción de hasta el 85 %. Mientras, la formulación con 15 phr de APP absorbe totalmente la luz UV, por lo que no es adecuada para su empleo en la ignifugación de composites en el espesor analizado (2 mm).
  • La reducción de la transmisión de luz UV en las probetas ignifugadas ralentiza el proceso de curado. Debido a la mayor absorción, la luz incidente tarda más en alcanzar la cara no expuesta del composite, con lo que el comienzo del proceso de curado se ve ralentizado.
  • No se han reportado diferencias significativas de las propiedades interlaminares en los composites cargados con ATH o APP en comparación con la formulación base.
  • Mientras que la formulación base y las probetas con APP fallaron durante el ensayo (160 segundos y 9 minutos respectivamente), las probetas con ATH y las recubiertas no sufrieron daños durante el mismo, resistiendo 25 minutos sin combustión alguna.

Por tanto, las estrategias más adecuadas serían la incorporación de 30 phr de ATH y el empleo del recubrimiento intumescente.

Agradecimientos

I. Saenz-Dominguez agradece la beca predoctoral concedida por el Departamento de Educación del Gobierno Vasco (PRE_2018_2_0208). Los autores quieren agradecer al Departamento de Industria del Gobierno Vasco la financiación del proyecto (IT883-16, IGNUV ZL-2019/00668, PROVIMAT KK-2018/00046).

Referencias

[1] M. Malik, V. Choudhary, I. K. Varma. Effect of non-halogen flame retardant additives on the properties of vinyl ester resins and their composites. Journal of Fire Sciences, 20, pág. 329-342 (2002).

[2] D. Britnell, N. Tucker, G. Smith and S. Wong. Bent pultrusion – a method for the manufacture of pultrudate with controlled variation in curvature. Journal of Materials Processing Technology, 138, pág. 311-315 (2003).

[3] I. Tena, A. Esnaola, M. Sarrionandia, I. Ulacia, J. Torre and J. Aurrekoetxea. Out of die ultraviolet cured pultrusion for automotive crash structures. Composites Part B: Engineering, 79, pág. 209-216 (2015).

[4] I. Tena, M. Sarrionandia, J. Torre, J. Aurrekoetxea. The effect of process parameters on ultraviolet cured out of die bent pultrusion process. Composites Part B: Engineering, 89, pág 9–17 (2016).

[5] A. Endruweit, M.S. Johnson and A.C. Long. Curing of composite components ultraviolet radiation: A review. Polymer Composites, 27, pág. 119-128 (2006).

[6] M. R. Petersen, A. Chen, M. Roll, S. J. Jung, M. Yossef. Mechanical properties of fire-retardant glass fiber-reinforced polymer materials with alumina tri-hydrate filler. Composites Part B: Engineering, 78, pág. 109-121 (2015).

[7] I. Tena, I. Saenz-Dominguez, J. Torre, M. Sarrionandia, J. Aurrekoetxea. Effect of alumina try-hydrate filler on the mechanical and optical properties of flame-retardant ultraviolet cured vinyl ester composites. Actas del Congreso 18th European Conference on Composite Materials (ECCM18), Atenas, Grecia (2018).

[8] I. Saenz-Dominguez, I. Tena, M. Sarrionandia, J. Torre, J. Aurrekoetxea, Effect of ultraviolet curing kinetics on the mechanical properties of out of die pultruded vinyl ester composites. Composites Part A: Applied Science and Manufacturing, 109, pág. 280-289 (2018).

Back to Top

Document information

Published on 02/05/22
Accepted on 02/05/22
Submitted on 02/05/22

Volume 04 - Comunicaciones Matcomp19 (2020), Issue Núm. 1 - Avances en Materiales Compuestos. Nuevos Campos de Aplicación., 2022
DOI: 10.23967/r.matcomp.2022.05.001
Licence: Other

Document Score

0

Views 19
Recommendations 0

Share this document

claim authorship

Are you one of the authors of this document?