Abstract

This article introduces a new technology about a rod pumping in the offshore platform according to the demand of offshore heavy oil thermal recovery and the production of stripper well, analyzes the research status of hydraulic pumping unit at home and abroad, and designs a new kind of miniature hydraulic pumping unit with long-stroke, low pumping speed and compact structure to resolve the problem of space limitation. The article also describes the whole structure and the working principle of this pumping unit, determines the choice of stroke and rate of the pumping unit, and establishes mathematical models based on the polished rod loads. A new composite hydraulic cylinder with a special structure was designed by combining the hydraulic cylinder with the energy accumulator. This composite hydraulic cylinder is applied on land, and the model prototype runs smoothly, which indicates that the whole structure design of the pumping unit is reasonable and the control strategy is correct.

Introduction

Energy shortage is a major issue in the world at present, with the continuous exploitation of conventional crude oil, whose reserves and production gradually decline each year. Available light oil resources for mining leave only 1700 × 108 t, while the proven heavy crude oil resources throughout the world are more than 3000 × l08 t [1, 2]. Thanks to the continuous progress of Chinese crude oil production technology; production of CNOOC, Sinopec, and PetroChina offshore oil fields has been improved greatly in recent years. In 2013, annual crude oil production of CNOOC was 66.84 million tons and natural gas was 19.6 billion cubic meters; CNOOC has become the second largest crude oil production enterprise in China. The main producing area of domestic offshore oilfields diverted gradually from the northern South China sea to Bohai Bay oilfield during the last century. At the beginning of this century, Bohai Bay oil production rose rapidly, for example, offshore oil production of Shengli Oilfield Company, Sinopec, reached 5 million tons, and Tianjin Branch of CNOOC accounted for 68.5% of production of CNOOC offshore oil production and became the main oil field of CNOOC. The geological conditions of the Bohai Bay oil region have the following characteristics: marginal, small, and medium size oilfields that account for a relatively high proportion. Large (more than 100 million tons of geological reserves) oilfields mainly consist of heavy crude oil, whose reserves account for 85% of total proven oil reserves. High-quality blocks gradually go into the late stage of development, which brings tremendous difficulty to offshore crude oil production in Bohai Bay oil region. Therefore, studying the development of heavy crude oil occupy a pivotal position in reserves discovery and application, capacity construction, and oilfield development of the Bohai Bay.

Currently, conventional offshore oilfields lifting technology mainly includes spray oil production and mechanical artificial lift oil production. With the gradually deep development of the crude oil exploitation, the formation of the original pressure falling, artificial lift oil production has gradually become a major offshore oil recovery scheme. Affected by the offshore platform size limit and drainage technology, offshore oilfields use submersible pumps as the main lifting equipment [3, 4]. However, problems emerged as a result of using submersible pumps to develop heavy crude oil and marginal oil fields: the electric submersible pump restricts the process and temperature of heavy crude oil thermal recovery options. For more stable production of offshore oil wells, their fluid production has fallen below the reasonable range of electric submersible pump operation, and the efficiency of development and cost dropped substantially, increasing the operating and development costs.

Therefore, it has become an urgent need to study new offshore oilfield artificial lift way to meet the need of efficient development of heavy crude oil thermal and low-field wells. An artificial lift pumping mode consisting of pumping machine–rod–pumps is the most widely used among the oil exploration methods in the world. According to statistics, 80% of onshore oil wells using this kind of the lift mode produced more than 75% of the total crude oil [5, 6]. So we can use three mature artificial lift pumping modes onshore on the offshore oil platform, which can solve many problems in offshore field exploitation. Among them, three pumping lifting equipment R&D is the premise and key.

Overall Structural Design

The pumping unit is the ground driver device of three pumping artificial lift systems. The main type of the current pumping unit has a beam pumping unit and a nonbeam pumping unit. The beam pumping unit includes a conventional beam pumping unit, a front-mounted beam pumping unit, a variable parameters mechanism beam pumping unit, and a multiple rod mechanism beam pumping unit. Although the conventional beam pumping unit is a mature technology in using and manufacturing experience and the main rod pumping equipment, it has larger overall weight, especially the size and space required exceeding the limit of the offshore oil platform. The nonbeam pumping unit includes a rotary motor-reversing drum pumping unit, a linear motor-reversing drum pumping unit, a mechanical reversing drum pumping unit, a chain reversing pumping unit, a gear and rack reversing pumping unit, spiral reversing pumping unit, and other reversing pumping units [7]. The pumping unit with a long stroke and a low speed of nonbeam pumping unit mainly has a chain pumping unit, a motor-reversing type pumping unit, a gear and rack pumping unit, and a hydraulic pumping unit, etc. A chain pumping unit has a big occupied area, the motor-reversing type pumping unit uses the balanced weight box and has big weight, the gear and rack pumping unit has a complex structure and high weight, and all of them cannot be used on the offshore platform.

The hydraulic pumping unit can adapt well to change in the well, with a compact construction and light weight, and it transfers energy intensively and adapts to a wide range of operating conditions to make a long and low stroke, being adjustable in times and frequency of strokes [8].

Currently, the hydraulic pumping unit can be divided into two kinds of hydraulic pumping units with a single counterweight and hydraulic pumping unit with no single counterweight through the different way of balance [9]. The hydraulic pumping unit with no single counterweight including a hydraulic pumping unit adopted the tubing string to balance, hydraulic pumping unit adopted the accumulator to balance, and hydraulic pumping unit adopted the tubing string and the accumulator to balance.

The MaPe-mode drum-type long-stroke hydraulic pumping unit produced by France MaPe companies is a kind of nonbeam hydraulic pumping unit with long stroke [10]. The application of a high-raised frame structure enables this kind of pumping units to fulfill the task of minor workover taking the place of service machines. The stable reliable reversing lowers the load of the polished rod, and the application of vertical construction ensures a less occupied area, which makes it more suitable for cluster wells and the recovery of heavy oil in marine areas. But counterbalance weight features a bigger total weight of this kind of pumping unit, which makes it hard for the offshore platform.

The hydraulic pumping unit made by Western Gear Corp (Harrison, Ohio, United States). America has the following three operation modes: manual operation, inching operation, and automatic operation [11]. The application of monolithic low-rise structure makes sure of a smaller overall dimension and convenient transportation. Low additional load enables the pumping unit to run smoothly, which makes for a longer service life. This kind of pumping unit can reduce the friction between the pumping rod and the tubing, as well as the abrasion of the pump. But during the workover operation, the pumping unit must be moved away from the wellhead and repositioned after completing the workover operation, which increases the difficulty and the workload.

The ATH-mode (Awang Tengah Hasip) hydraulic pumping unit was developed by the Soviet Union; by making tubing as counterweight, it avoids using additional balancing weight or other balancing devices and increases the actual stroke length of the pumping unit, which remarkably improves the effectiveness of the rod pumping [12]. During an operation cycle, the suspension point has a longer steady motion segment, which makes for the operation of the rod string and the downhole pump. But the pumping unit is right installed at the wellhead, causing a higher chance of accidents for the wellhead which can be broken easily in this way. Hence, the situation above should be avoided in the design of a pumping unit if possible.

There are two types of hydraulic pumping units made by Company Curtis Hoover, (Fort St John, British Columbia, Canada): high-raised frame and low-raised frame. The application of bladder accumulators in the balancing system and the use of the solid-state circuit as well as the electromagnetic limit sensor eliminate the wear on moving parts. The pumping unit has the advantages of simple device, small size, light weight, convenient installation, and low manufacturing cost. The frame of this pumping unit is also installed at the wellhead, which not only brings about inconvenience during the workover operation, but also easily causes breakage of the wellhead. At this point, it is not advisable to adopt this design.

The offshore platform hydraulic pumping unit jointly developed by Zhejiang University and Shengli Oilfield Company is suitable for the offshore platform [13]. It adopts a fully hydraulic reversing control loop and accumulator-type closed circuit. With a compact structure and a less occupied area, it is quite suitable for the platform whose area is greatly limited. But this kind of pumping unit has a complex hydraulic circuit. Besides, high manufacturing cost also makes it difficult to be applied widely.

The combined hydraulic cylinder energy-saving hydraulic pumping unit was jointly developed by the Yantai University and the Shandong Kangda Oil Pump Co., Ltd. It adopts a special structure with a combined hydraulic cylinder and accumulator which recover the gravitational potential energy released during the downward movement of the sucker rod and reuse it during the upward movement, contributing a remarkable energy-conservation effect [14]. However, the force analysis indicates asymmetric loading and eccentric wear of the hydraulic cylinder and the piston.

Due to the limited space of wellhead and workover needs, a new R&D hydraulic pumping unit was applied to the offshore oil platform as shown in Figure 1, which mainly consists of a pumping base, a combination of hydraulic cylinders, a pulley group, a energy storage tank group, a hydraulic control system, and power systems. The size of the whole machine was 1.0 m × 0.7 m × 4.0 m.


Figure 1.


Figure 1.

Hydraulic pumping offshore platform structure schematic diagram. 1, Base; 2, driven pulley; 3, towers; 4, cylinder combination; 5, crane wheel; 6, lifting strip; 7, energy storage cylinder; 8, hanging rope; 9, polished rod.

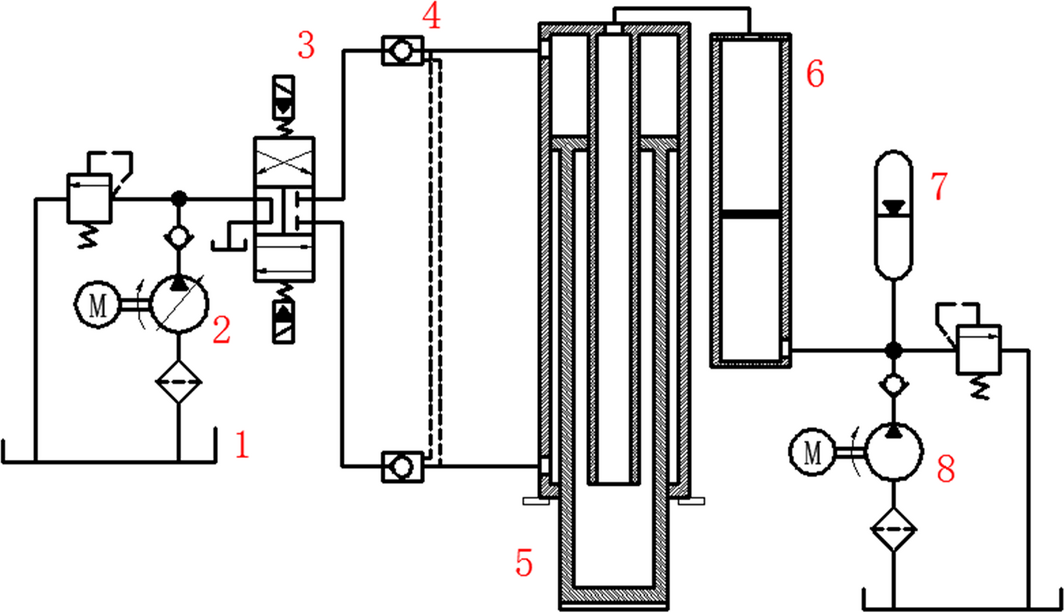
The pumping unit is mounted above the middle platform of the offshore oil platform and the combination cylinder rod extends during upstroke, lifting the rod by strengthening the connection between the lifting belt and the polished rod via the hanging rope. The rod drops during downstroke and presses the hydraulic oil in the combination cylinder fluid chamber back to energy storage cylinder when the lifting belt returns pressure to the piston rod, which realizes the gravitational potential energy storage of the rod during downstroke. The energy that the energy storage device stored in downstroke releases in upstroke, which achieves the load balancing between upstroke and downstroke and cylinder protection. The detailed operating principle is as shown in Figure 2.


Figure 2.


Figure 2.

Hydraulic structural schematic diagram. 1, Oil tank; 2, variable pump; 3, electrohydraulic proportional valve; 4, hydraulic lock; 5, combined cylinder; 6, balance hydraulic cylinder; 7, accumulator; 8, slippage pump.

The hydraulic structural schematic diagram of the pumping unit is shown in Figure 2. During the upstroke operation, the electrohydraulic proportional valve (3) is in the lower position. The hydraulic oil flows through the hydraulic lock (4), gets pressed into the center bore of the combined cylinder (5), balances the load of the upstroke with the help of the hydraulic oil of the balance hydraulic cylinder (6) and the accumulator (7) collectively, and pushes the load end to move upward. Then, the hydraulic oil of the side bore flows back into the oil tank through the hydraulic lock (4), indicating the end of the upstroke operation. During the downstroke operation, the electrohydraulic proportional valve (3) is in the upper position, the hydraulic oil is pressed into the side bore of the combined cylinder through the hydraulic lock, pushing the load end to move upward with the help of the load of the downstroke. The hydraulic oil in the mandrel of the combined cylinder is pressed into the energy storage device.

Design Parameters

Pumping stroke and stroke rate

Daily pump displacement is:

(1)

In this formula, d is the pump diameter (m2), S the pumping stroke (m), N the pumping stroke times (min−1), and fp the pump efficiency (0.8).

Single well production fluid volume, pump diameter, and pumping stroke times are shown in Figure 3.


Figure 3.


Figure 3.

Relationship between single well liquid production and pumping parameter. (A) 70 pump daily liquid production. (B) 80 pump daily liquid production.

Heavy crude oil production generally uses a principle of a large pump diameter, long stroke, and low stroke times. Based on Figure 3, we can determine: Single well liquid production is less than 100 m3/day, configure “70 pump + 5 meters pump stroke pump unit.” Single well liquid production is between 100 and 150 m3/day, configure “80 pump +6 meters pump stroke pump unit.” If single well liquid production is 150 m3/day, the hydraulic pump unit stroke is 6 m, the stroke times is 4.32 min−1, design and calculation according to the 5 min−1.

Characteristics of suspended point

Rod load calculation

Based on the polished rod force balance, the mechanical model for rod during the upstroke is as follows:

(2)

In this formula, Fu is the rod load during upstroke (N), Ff the rod buoyancy (N), Fy the force of the lower surface of the pump plunger (N), Gg the total gravity load of sucker rod (N), Go the total gravity load of the liquid column (N), Fp the friction load between the cylinder and the plunger (N), Ft the friction load between liquid column and tubing (N), Fg the inertial load of sucker rod string (N), and Fo the inertial load of liquid column (N).

Among them,

(3)

In this formula, Ph is the wellhead back pressure (Pa), h the pump submergence depth (m), d the pump piston diameter (m), and ρo the density of heavy crude oil (density of heavy crude oil in Bohai Bay region [15] is 0.94–0.98 × 103 kg/m3).

Therefore, the load of suspension center during the upstroke is:

(4)

And the load of downstroke is:

(5)

Velocity curve design of suspension center

The velocity curve of pump suspension center can be designed for the sinusoidal or trapezoidal profile, wherein the trapezoidal profile is divided into three stages: acceleration, uniform speed, and deceleration; the acceleration and deceleration phases account for 1/10 of the stroke and the uniform phase accounts for 8/10 [16, 17].

In Figure 4, we assume the equation of motion for sine harmonic curve as follow:

(6)


Figure 4.


Figure 4.

Sinusoidal and trapezoidal profiles of suspension center.

We already know that the pump stroke times is 5 min−1 and the stroke is 6 m. Hence, we calculate that in Formula (6)A = 1.57, θ = π/6; thus, the maximum speed of suspension point in the sinusoidal velocity curve is Vmax = 1.57 m/sec.

For trapezoidal velocity profile, Vmax = 1.11 m/sec, which is equal to 70% the maximum in sinusoidal velocity curve. To decrease the flow rate of the hydraulic system, reduce the installed power, and the suspension center velocity should be designed according to the trapezoid curve mode. However, the acceleration curve of the trapezoidal velocity profile is not continuous, resulting in generating periodic shock loads when deflected, causing pumping vibration, and shortening the operating life of the pump unit. Combined with advantages of the sinusoidal and trapezoidal curve, the design of the pump suspension center velocity curve is shown in Figure 5.


Figure 5.


Figure 5.

Velocity curve of the pump suspension center.

The analytical expression of Figure 5 for the suspension center velocity curve is as follows:

(7)

n is a natural number in the formula.

Design of the main system

As the combined hydraulic cylinder is the predominant actuator of this pump, its structure and performance determine the control strategies and the operating mode of the system. The structure of the combined hydraulic cylinder is shown in Figure 6.


Figure 6.


Figure 6.

Structure of combined hydraulic cylinder. 1, Cylinder; 2, guide shaft; 3, guide sleeve; 4, piston rod; 5, pulley mounting plate; I, cylinder; II, mandrel; III, piston rod.

The outer diameter of the combined hydraulic cylinder is Φ1, the inner diameter is Φ2, the outer diameter of the mandrel II is D1, the inner diameter is D2, the outer diameter of the piston rod III is d1, and the inner diameter is d2.

When the depth of the heavy crude oil is 1000 m, the pump submergence depth is 300 m, the wellhead back pressure is 0 MPa, the maximum rod load of upstroke is 6.0 × 104 N, and the minimum rod load of downstroke is 2.0 × 104 N.

Piston rod size

The equivalent force of the load act on the piston rod is Fh = 1.2 × 105 N, rod stroke is L = 3 m, so it is a typical elongated bar; Eulers formula should be used to calculate critical load Fk.

A fix end and a free end of the column stability calculated by the Euler formula [18] is as follows:

(8)

In the formula, I is the moment of inertia of the piston rod, E the elastic modulus (210 GPa), and L the length of the piston rod (m).

According to the hydraulic cylinder manual [19], the stability coefficient is around 2–4. Because of the complex offshore platform work environment, we should increase the strength and the durability of hydraulic cylinders, so the safety factor takes nk = 4, thus:

(9)

According to equation (9), to meet the stability of sucker rod, we should decrease the overall size and weight of the offshore platform by reducing the outer diameter and the weight of piston rod. Here, α is defined as the ratio of the inner and the outer diameters of the piston rod. The curve of the increasing amount of the piston rods outer diameter and the decreasing amount of piston rods weight with α is shown in Figure 7.


Figure 7.


Figure 7.

Relationship between piston rod diameter and weight.

According to Figure 7, the curve analysis shows that when α = 0.75, the piston rods outer diameter increases by 10%, its weight can reduce by 47%, which achieves the optimal results. According to equations (8) and (9), we can calculate the outer diameter d1 ≥ 125.5 mm; here the piston rods outer diameter d1 = 126 mm, inner diameter d2 = 94 mm, and wall thickness is 16 mm.

Mandrel size

The load of suspension center is 6.0 × 104 N and 2.0 × 104 N in upstroke and downstroke, respectively, and can be converted to the cylinder load Fmax = 1.2 × 105 N and Fmin = 0.4 × 105 N; thus, the balancing load of the accumulator is:

(10)

Inner pressure of the piston rod:

(11)

Spindle end force:

(12)

According to the pressure bar stability Eulers formula and equation (8), we can get:

(13)

In the formula, β is the ratio of inner and outer diameter of mandrel, .

The mandrel is mainly used for fluid passage, so in order to decrease the weight of the whole cylinder, select β = 0.8. After the calculation and optimization, the outer diameter of mandrel D1 = 88 mm, inner diameter D2 = 70 mm, and wall thickness is 9 mm.

Cylinder size

Considering the extreme conditions such as storage system failing, the hydraulic cylinder can still work properly, the thrust of the hydraulic cylinder is:

(14)

In this formula, Ft is the thrust of the cylinder (N) and P the working pressure of the selected system (MPa).

According to the national standard of hydraulic transmissions recommendation about working pressure and velocity ratio of the hydraulic cylinder [20], here we determine working pressure by 16 MPa of medium pressure, the thrust of the hydraulic cylinder Ft > 120 kN, thus Φ2 > 131.5 mm. At the same time, considering the flow rate of the upstroke, the downstroke, and the overall size control of the hydraulic cylinder, we can determine the speed ratio ψ = 1.61.

(15)

According to equation (15), Φ2 = 159.1 mm, so the inner diameter of cylinder is Φ2 = 160 mm.

Wall thickness of the cylinder block:

(16)

In this formula, [σ] is the cylinder allowable stress, the allowable stress of 45# is 210 MPa.

According to equation (16), δ ≥ 6.1 mm. Considering the length of the cylinder and the incretion of the strength and stability, we can determine δ = 10 mm and the outer diameter, Φ1 = 180 mm.

The main structure size of the combined cylinder is shown in Table 1.

Table 1. Main structure parameters of combined cylinder (/mm)
Part Outer diameter Inner diameter Wall thickness
Cylinder 180 160 10
Mandrel 88 70 9
Piston rod 126 94 16

Accumulator size

Accumulator selection is mainly determined by the volume and the allowable working pressure. According to the characteristics of the accumulator working circuits, the normal operating pressure is:

(17)

When the pump unit is running, the pressure fluctuation provided by the accumulator should be controlled within 10% [19], thus, the minimum operating pressure of the accumulator circuit is Pmin = 10.38 MPa, the maximum is Pmax = 12.68 MPa, and the charge pressure is P0 = 0.85, Pmin = 8.82 MPa.

The hydraulic stroke L = 3 m, the effective volume of the accumulator is:

(18)

The working process of the accumulator is calculated as isothermal process, the required volume of the accumulator is:

(19)

Based on the above mathematical models and the designing calculation results, an equal-sized laboratory prototype model is made and shown in Figure 8.


Figure 8.


Figure 8.

Laboratory model prototype and combined hydraulic cylinder onshore test.

Safety requirement for offshore platform equipment is extremely high. Ground testing is needed for the utmost application on offshore platform over a long-lasting time, combined hydraulic cylinder onshore test is showed as Figure 8. The ground testing has monitored the state of stress for the two main support structure. The state of stress is demonstrated in Figure 9.


Figure 9.


Figure 9.

Stress curve of support structure.

According to the Figure 9, bearing of both sides is adjacent, showing the overall structure is adequate and of no partial loading. And the good periodicity of stress curve illustrates the stable operating of the unit. The onshore wellhead prototype has been performed for 6 months, which can meet the oil wells running requirements and lays a foundation for offshore platform application.

Conclusion

In response to the heavy oil thermal recovery of offshore oil fields and to achieve high efficiency recovery in stripper wells, a new technology of the pumping unit–sucker rod–pump combining the artificial lift in the offshore platform is first proposed, and a new type of the hydraulic pumping unit with a long stroke and low stroke times is specially designed for the offshore platform.

This article studies the characteristics of the suspension point during the operation of the pumping unit and designs the structure of the combined hydraulic cylinder in detail. An equal-sized laboratory prototype is made based on mathematical models and the designing calculation results. The prototype runs smoothly and meets the laboratory requirements, which verifies the rationality and effectiveness of the overall designing scheme and lays foundations for the field test.

The pumping unit is designed for offshore platform. Currently, offshore production utilizes electric submersible pump, and the operating process is as follows: produce stopping, pump lifting, steam injection, huff and puff flowing production, well killing, pump lowering then production. The designing of suitable structured pumping unit can realize the replacement from electric submersible pump to rod pump, then the integration of injection and production. Thus, the operating process can be reduced to steam injection, huff and puff flowing production, and production, which will greatly improve the operation efficiency and reduce the cost.

Conflict of Interest

None declared.

References

  1. Duan, Y.2010. Study on multisystem combined with chemical profile control and displacement for heavy crude oil thermal recovery. China University of Petroleum.
  2. Rahnema, H., and D. Mamora. 2010. Combustion assisted gravity drainage (CAGD) appears promising Society of Petroleum Engineers – Canadian Unconventional Resources and International Petroleum Conference 2010, v 1, p 206–216,
  3. Anderson, G., B. Liang, and B. Liang. 2001. The successful application of new technology of oil production in offshore. Foreign Oilfield Engineering, 17:28–30.
  4. Dong, Z., M. Zhang, X. Zhang, and X. Pang. 2008. Study on reasonable choice of electric submersible pump. Acta Petrolei Sinica, 29:128–131.
  5. Wang, S., H. Zhao, Q. Shang, and X. Zhou. 2010. Technology of linear submersible motor and its application. Petrol. Drill. Tech., 38:95–97.
  6. Liu, C.. 2010. Application of three methods for lifting. Oil-Gas Field Surf. Eng., 29:45–46.
  7. Qi, Y., L. Shi, and F. Gao. 1995. Introduction to the type and development trend of domestic pumping unit. Drill. Prod. Technol., 18:46–49.
  8. Xu, B., F. Huang, and B. Zhang. 2006. Design of a new energy-saving hydraulic pumping unitwith variable speed control and closed oil circuits. Mach. Tool Hydraul., 34:72–74.
  9. Xue, X., Y. Qi, Y. Yu, Z. Li, J. Sun, and J. Mao. 2016. The adaptability analysis and application status of hydraulic pumping units. Mach. Tool Hydraul., 44:151–154.
  10. Lea, J. F., PL Tech LLC and H. W. Winkler. 2011. Whats new in artificial lift. World Oil232:231–243.
  11. Bo, T.. 2002. The development and state of art of the hydraulic pumping unit in China. Drill. Prod. Technol.25:60–62.
  12. Xun, H.. 2001. The development of hydraulic pumping unit with foreign technology level. Xinjiang Petrol. Sci. Technol., 1:62–64.
  13. Ma, H.. 2005. A hydraulic pumping unit for offshore oil exploitation. China Petrol. Machin., 33:54–56.
  14. Zhang, L., and H. Xie. 2008. Study on energy-saving hydraulic sucker rig with compound cylinder. Chin. Hydraul. Pneumat.9:63–64.
  15. Guo, Y., X. Zhou, J. Li, Y. Ling, and J. Yang. 2010. Crude features and origins of the Neogene heavy crude oil reservoirs in the Bohai bay. Oil Gas Geol.31:375–380.
  16. Guan, D., X. Wang, C. Li, K. Gao, and Z. Wei. 2012. Analysis of heavy crude oil characteristics and densification factors of PLA oil-bearing structures in the water area of Bohai. Petrol. Geol. Eng.26:69–72.
  17. Wei, X., J. Sun, H. Zhou, and B. Xu. 2009. Design of new hydraulic pumping unit with electro-hydraulic proportional control. Mach. Tool Hydraul., 37:39–41.
  18. Liu, H.. 2011. Mechanics of materials. Higher Education Press, Beijing, China.
  19. Lu, Y.. 2002. Hydraulic and pneumatic technology handbook. China Machine Press, Beijing, China.
  20. Zang, K.. 2010. Hydraulic cylinder. Chemical Industry Press, Beijing, China.
Back to Top

Document information

Published on 01/06/17
Submitted on 01/06/17

Licence: Other

Document Score

0

Views 316
Recommendations 0

Share this document

claim authorship

Are you one of the authors of this document?