1 Introducción

La implementación de medidas para prevenir desastres por la ocurrencia de temblores debería ser de gran interés para la sociedad, ya que conduce a mitigar las pérdidas humanas y materiales que provocan estos fenómenos. En México y otros países, los sismos son una de las principales causas de desastre, por lo que diversos autores han estudiado sus efectos sobre las construcciones [1,2,3]. Los edificios son algunas de las estructuras más afectadas cuando ocurre un temblor, debido a su geometría, y a otros factores relacionados con una mala configuración estructural, un deficiente proceso constructivo y a la falta de mantenimiento [4,5].

Actualmente los sistemas de control pasivo son una alternativa ampliamente utilizada para reducir los efectos del sismo sobre las edificaciones. Entre ellos se encuentra el aislamiento de base, que nos permite desacoplar el movimiento de los edificios del movimiento del suelo cuando ocurre un temblor, permitiendo que las demandas sísmicas en el edificio sean menores [6,7]. En México el uso de estos dispositivos es aún limitado, sin embargo, ya se pueden encontrar algunas aplicaciones [8,9], principalmente en la Ciudad de México debido al riesgo sísmico que presenta [5]. Sin embargo, en ciudades como Morelia, que se considera de sismicidad moderada a alta [10], el uso de sistemas de aislamiento de base es todavía nulo, a pesar de que podrían mejorar el comportamiento de los edificios y ofrecer un mayor nivel de seguridad.

2 Sistemas de aislamiento sísmico

El aislamiento de base consiste en la colocación de un dispositivo entre la estructura de la edificación y su cimentación. Tiene la función de aislar el movimiento del edificio durante un evento sísmico. Un edificio aislado se puede representar como un sistema de un grado de libertad con una masa (), rigidez () y amortiguamiento viscoso (), conectado a un aislador, que se representa como un resorte lineal con rigidez () y amortiguamiento viscoso (), tal como se muestra en la Figura 1.

Modelo numérico de un edificio de un nivel con aislamiento de base, tomada de [11].
Figura 1: Modelo numérico de un edificio de un nivel con aislamiento de base, tomada de [11].

Existe también una masa a nivel de la cimentación (), donde se aplica directamente la aceleración del suelo provocada por el sismo, por lo que realmente se tiene un sistema de dos grados de libertad formado por ambas masas y . Aplicando la segunda Ley de Newton e involucrando los desplazamientos laterales absolutos del entrepiso (), la cimentación () y el suelo (), es posible expresar el equilibrio dinámico mediante las ecuaciones (1) y (2). Aquí, y son la primera y la segunda derivada del desplazamiento y representan la velocidad y la aceleración respectivamente.

(1)

(2)

Para edificios de varios niveles, los cuales pueden ser representados como sistemas de múltiples grados de libertad, las ecuaciones (1) y (2) suelen expresarse en forma matricial como:

(3)

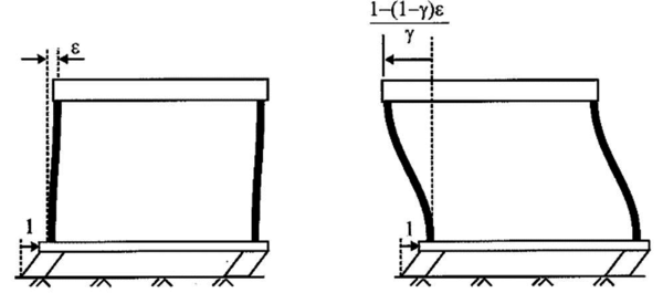
Donde [] es la matriz de masas, [] la matriz de amortiguamiento, [] la matriz de rigideces del sistema y es un vector de rotación. Asímismo representa el vector de desplazamientos relativos y sus derivadas y son los vectores de velocidad y aceleración respectivamente. Se puede demostrar que [] y [] son simétricas y definidas positivas [12], por lo que es posible resolver el problema de valores y vectores característicos para obtener las formas modales y frecuencias de vibrar del sistema estructura-aislador (Figura 2), en donde la primera forma modal representa un comportamiento de cuerpo rígido sobre un sistema flexible. En el segundo modo de vibrar, el movimiento en la parte superior del sistema está fuera de fase con respecto al movimiento del aislador, de forma que incluso si se generan aceleraciones grandes en este segundo modo, este no generará fuerzas cortantes de gran magnitud en la base.

Formas modales de un sistema estructura-aislador, tomada de [11].
Figura 2: Formas modales de un sistema estructura-aislador, tomada de [11].

3 Tipos de aisladores

Aunque existe actualmente una diversidad de aisladores de base, los más utilizados son los aisladores a base de elastómeros y los aisladores deslizantes. Este estudio se enfoca al análisis de edificaciones con elastómeros. En la categoría de los elastómeros se encuentran los aisladores de hule de alto amortiguamiento (), (Figura 3a) que pueden alcanzar porcentajes de amortiguamiento crítico cercanos al , lo que favorece la disipación de energía en la estructura. Otro aislador elastomérico muy utilizado es el de hule con núcleo de plomo (), (Figura 3b), con un comportamiento elasto-plástico por la fluencia del plomo, y comportamiento histerético que puede generar un amortiguamiento equivalente de entre y .

Aislador HDR. Aislador LRB.
(a) Aislador HDR. (b) Aislador LRB.
Figura 3: Aisladores utilizados en la propuesta de aislamiento. Tomado del folleto publicitario de la empresa Bridgestone,

4 Diseño de los aisladores

El diseño de los aisladores requiere conocer algunas propiedades del sistema sin aislamiento, como son: el peso total de la superestructura (), el número de aisladores que se desean colocar () y el periodo de la estructura sin aislamiento (). Esta información se obtiene de un análisis elástico del edificio con base rígida, a excepción del número de aisladores que está en función de la cantidad de columnas que posee el edificio.

El siguiente paso consiste en elegir un periodo de vibrar objetivo (), una recomendación utilizada comúnmente es que el periodo del edificio aislado sea de alrededor de tres veces el periodo del edificio con base rígida [13]. Para los aisladores se obtiene la rigidez lateral del sistema de aislamiento (ec. 4) y la rigidez de un aislador (ec. 5) a partir del peso total del edificio y el periodo objetivo. Finalmente, se define un porcentaje de amortiguamiento de acuerdo con el fabricante y con ello se tienen todos los parámetros necesarios para representar los aisladores en el modelo numérico.

(4)

(5)
Comportamiento bilineal de un aislador LRB.
Figura 4: Comportamiento bilineal de un aislador LRB.

Una diferencia en el diseño de los aisladores es que se requieren calcular dos rigideces, la rigidez elástica y la rigidez post-fluencia, ya que ahora el aislador tiene un comportamiento bilineal (Figura 4). Ambas rigideces se obtienen a partir de la rigidez efectiva que se obtiene también con la ecuación (4). La rigidez post-fluencia (ec. 8) se obtiene con la resistencia de fluencia (ec. 6) y el desplazamiento del aislador (ec. 7). Sa es la pseudo-aceleración asociada al periodo objetivo en el espectro de diseño por sismo. Finalmente, la rigidez elástica se asume igual a 10 veces la rigidez post-fluencia.

(6)

(7)

(8)

5 Caso de estudio

El aislamiento sísmico puede aplicarse a cualquier estructura, sin embargo su efectividad es mayor cuando se cumplen las siguientes condiciones: que el subsuelo sea firme, que la edificación tenga más de dos niveles o sea inusualmente pesada, que la ubicación del edificio permita que este se desplace al menos para que trabaje el sistema de aislamiento, y que la estructura tenga un periodo de vibrar corto.

En este caso se propone implementar el aislamiento de base en un edificio de seis niveles de la ciudad de Morelia, Michoacán, con un periodo fundamental de vibrar menor que 1 segundo. El tipo de terreno más común en la ciudad es suelo tipo (firme), con algunas zonas de suelo tipo (de transición), y no hay presencia de suelos tipo (blandos)[14]. Este trabajo analiza el uso de estos sistemas en edificios nuevos por lo que se considera que no hay una limitación en los desplazamientos que pueden experimentar. Por lo anterior, se concluye que el edificio propuesto cumple con los requisitos planteados para que el sistema de aislamiento sea efectivo.

5.1 Geometría y diseño del edificio propuesto

El edificio tiene forma regular y se compone de marcos de concreto reforzado con cuatro crujías de en la dirección , y cuatro crujías de en la dirección . La altura de entrepiso es de en el primer nivel y en los demás niveles (Figura 5). El edificio se analizó de acuerdo con el espectro de diseño para la ciudad de Morelia [15] y se diseñó utilizando las Normas Técnicas Complementarias del Reglamento de la Ciudad de México [16]. Como resultado del diseño estructural se obtuvieron columnas con sección transversal de y trabes de para los dos niveles inferiores, mientras que para los niveles superiores resultaron secciones transversales en columnas de y en trabes de . Con estas dimensiones se cumple con los estados límite de falla establecidos por el Reglamento de Construcciones de la Ciudad de México [16], y no se excede la distorsión de entrepiso de que señala el reglamento para edificios formados por marcos de concreto de baja ductilidad.

Planta. Elevación.
(a) Planta. (b) Elevación.
Figura 5: Geometría del edificio estudiado.

Se emplearon las cargas gravitacionales mostradas en la Tabla 1, utilizando las cargas vivas y las combinaciones de carga establecidas en el Reglamento de la Ciudad de México [16]. Por otro lado, el espectro de diseño (Figura 5) se calculó con base en los criterios del Manual de Diseño de Obras Civiles (MDOC) [10], utilizando los parámetros indicados en la Tabla 2 y considerando un amortiguamiento del . La Ciudad de Morelia se encuentra ubicada en la zona sísmica , según lo establecido en el estudio de peligro sísmico realizado por el MDOC. En este contexto, el factor de comportamiento sísmico , considera la influencia del comportamiento no lineal de la estructura, mientras que el factor tiene en cuenta la posible sobrerresistencia de la estructura en función del sistema estructural empleado. Por otro lado, el factor de importancia está directamente relacionado con el uso del edificio, siendo de para edificios de carácter habitacional. Asimismo, los factores de redundancia y regularidad guardan relación con la cantidad de marcos o sistemas que aportan resistencia lateral y la regularidad geométrica que posee el edificio.


Tabla. 1 Análisis de cargas gravitacionales.
Uso Carga muerta Carga viva máxima Carga viva instantánea
() () ()
Azotea 310 100 70
Entrepiso 100 250 180


Tabla. 2 Parámetros para la obtención del espectro de diseño sísmico.
Zona sísmica C
Tipo de suelo II
Factor de comportamiento sísmico 2
Factor de sobrerresistencia 2
Factor de redundancia 1.25
Factor de importancia 1 (grupo B)
Factor de irregularidad 1

Se aplicó un análisis dinámico modal espectral para lo cual se creó un modelo numérico con comportamiento elástico lineal en el software [17], el cual utiliza el método de los elementos finitos para resolver el sistema representado en la ecuación (3). Se desarrollaron 3 modelos diferentes, el primer modelo representa el edificio sin aislamiento (base rígida o modelo de control), el segundo modelo incorpora aisladores de hule de alto amortiguamiento () como se muestra en la Figura 6 y el tercer modelo utiliza aisladores de hule con núcleo de plomo ().

Representación conceptual del modelo numérico del edificio aislado desarrollado en ETABS.
Figura 6: Representación conceptual del modelo numérico del edificio aislado desarrollado en ETABS.

5.2 Propiedades de los aisladores

El peso total de la estructura es y, a partir de los resultados del análisis elástico del edificio el periodo fundamental es de , correspondiente a un movimiento de traslación en la dirección . El número de aisladores está dado por la cantidad de columnas presentes en el edificio, que en este caso son . Como resultado del diseño de los aisladores se obtuvieron las rigideces incluidas en la Tabla 3.


Tabla. 3 Rigideces horizontales de los aisladores.
Rigidez (kg/cm) Aislador HDR Aislador LRB
, 15887 15887
, 635 4278
- 471

6 Análisis de resultados

La reducción de la demanda de fuerza cortante en un edificio aislado se debe fundamentalmente al incremento de su periodo fundamental. Una recomendación utilizada comúnmente es que el periodo del edificio aislado sea de alrededor de tres veces el periodo del edificio con base rígida. En este caso el periodo del edificio con base rígida es de , por lo que se propone un periodo objetivo del sistema aislado de . En la Figura 6 se muestra el cambio en los espectros de diseño por sismo, tanto de los espectros transparentes o elásticos (), como de los espectros para el estado límite de prevención de colapso (), modificados por amortiguamiento. Para el diseño del edificio con base rígida se utilizaron los espectros con un amortiguamiento del , mientras que para el diseño de los sistemas de aislamiento se utilizaron espectros modificados por amortiguamiento, para el sistema HDR y para el sistema LRB.

Los aisladores se diseñaron con base en los criterios del American Society of Civil Engineers [13]. Una vez integrado el sistema de aislamiento se obtuvo un periodo de para el edificio con aisladores HDR y para el edificio con aisladores LRB. Al crecer el periodo en los edificios por la adición de los sistemas de aislamiento, las demandas sísmicas de pseudo-aceleración () de los espectros de diseño disminuyen, en comparación con el edificio en base rígida. Como se observa, el periodo de vibrar del edificio original se localiza en la meseta del espectro y pasa a la rama descendente del espectro al crecer el periodo en base aislada, como se ilustra en la Figura (7). También se observa que el efecto del sistema de aislamiento en el crecimiento de los periodos de vibrar es mayor en los primeros modos (Figura 8), ya que a partir del cuarto modo su influencia es menor.

Espectros transparentes (ET) y de prevención de colapso (EPC) para el edificio sin y con aislamiento.
Figura 7: Espectros transparentes () y de prevención de colapso () para el edificio sin y con aislamiento.
Periodos de vibrar de los tres edificios analizados.
Figura 8: Periodos de vibrar de los tres edificios analizados.

La Figura 9 muestra que los desplazamientos absolutos de entrepiso se incrementan con el sistema de aislamiento, lo que justifica la recomendación de que exista un espacio suficiente entre la edificación y las estructuras colindantes. En este caso el edificio se desplaza lateralmente y con aislamiento HDR y LRB respectivamente. Sobre base rígida, el desplazamiento máximo es de . En los edificios aislados el mayor desplazamiento ocurre al nivel del sistema de aislamiento, mientras que en el edificio sin aislar ocurre en el último nivel.

Desplazamientos de entrepiso de los tres edificios analizados.
Figura 9: Desplazamientos de entrepiso de los tres edificios analizados.

Los daños en edificaciones dependen más de las distorsiones angulares de entrepiso que de los desplazamientos absolutos (desplazamiento relativo entre la altura del entrepiso). La Figura (10) muestra las distorsiones de entrepiso de los edificios. El edificio sin aislamiento se encuentra en el límite de distorsiones permitidas por el reglamento, mientras que los edificios aislados presentan una clara disminución de las distorsiones en todos los entrepisos. En el nivel del aislamiento la distorsión es mayor, sin embargo, esta deformación lateral corresponde al aislador de base. Estos resultados se pueden relacionar con los estados límite de daño propuestos por [18], de acuerdo a los siguientes intervalos de distorsión de entrepiso: corresponde a daño ligero, daño moderado, daño extenso y mayor a daño completo. En este caso el edificio sin aislamiento se ubica en una zona de daño extenso, mientras que los dos edificios que cuentan con aislamiento se ubican en una zona de daño moderado en los niveles inferiores y daño ligero en los niveles superiores.

Distorsiones de entrepiso y estado de daño [18] para los tres edificios analizados.
Figura 10: Distorsiones de entrepiso y estado de daño [18] para los tres edificios analizados.

Finalmente se obtuvo la demanda de fuerza cortante de entrepiso generada por el sismo. Se observa claramente una disminución de la demanda sísmica en las columnas, pasando de una fuerza cortante en la base de alrededor de en ambas direcciones para el edificio con base rígida, a en el edificio con aislamiento HDR y en el edificio con aislamiento LRB (Figura 11). Esto significa que, además de la disminución de las demandas de distorsión angular, los edificios aislados podrían diseñarse con columnas y trabes de menor sección transversal.

Fuerza cortante de entrepiso para los tres edificios analizados.
Figura 11: Fuerza cortante de entrepiso para los tres edificios analizados.

7 Conclusiones

Se analizó un edificio de concreto reforzado de seis niveles con base rígida y con dos sistemas de aislamiento: y . Con base en la respuesta de los edificios se determinó que el uso de sistemas de aislamiento en edificios con periodos cercanos a , puede ser efectivo en zonas de sismicidad alta o moderada, como es el caso de la ciudad de Morelia. Al utilizar sistemas de aislamiento se modifican los espectros de diseño debido al cambio de amortiguamiento, y crece el periodo fundamental de los edificios. Ambas cosas reducen la demanda sísmica de edificios en base rígida. Las distorsiones de entrepiso, que son un indicador del estado de daño del edificio, se reducen considerablemente, causando que el edificio pasara de daño extenso cuando no tiene aislamiento a daño entre ligero y moderado cuando se implementó el aislamiento. El objetivo de este trabajo fue mostrar la efectividad del uso de sistemas de aislamiento para reducir los daños esperados en edificios. Por ello, sólo se muestra el análisis con un conjunto de parámetros de los aisladores que podría ser modificado para obtener una respuesta óptima de la estructura, que incluso condujera a menores daños esperados.

Finalmente se evalúo también la respuesta del edificio en términos de la demanda de fuerza cortante de entrepiso, en donde se identificó una disminución considerable de dicha fuerza en todos los entrepisos para los dos casos con aislamiento. En general, se muestran resultados muy favorables para las dos propuestas de aislamiento, sin embargo, resultó más eficiente el sistema LRB al tener las menores distorsiones de entrepiso y la menor demanda de fuerza cortante de entrepiso, sin un cambio apreciable en el periodo fundamental objetivo.

Esto se debe principalmente a dos razones: la primera es porque el amortiguamiento que provee el sistema de aislamiento LRB es mayor que cuando se utilizan aisladores HDR, por lo que la demanda sísmica disminuye aún más, adicional a los efectos causados por el cambio de periodo de la estructura. La segunda razón tiene que ver con la forma del ciclo histerético, ya que los aisladores LRB al tener un comportamiento bilineal tienen una mayor superficie en su ciclo de histéresis y por lo tanto permiten una mayor disipación de energía, lo que contribuye a controlar la respuesta del edificio en términos de deformaciones laterales y fuerza cortante. Adicionalmente, se muestra que al utilizar un sistema de aislamiento, las secciones transversales de trabes y columnas podrían disminuir.

Con base en lo anterior se concluye que los sistemas de aislamiento sísmico son una alternativa viable para proyectar y construir edificios con características similares a las que se presentan en este trabajo. Para otros casos, se puede seguir el procedimiento de diseño que aquí se propone. Ahora bien, con respecto a qué sistema de aislamiento sísmico conviene utilizar, los resultados muestran que la diferencia en el comportamiento de los edificios analizados fue mínima entre ambos tipos de aisladores y . Sin embargo, este último además de resultar más favorable en términos de distorsión angular y fuerza cortante, ofrece un mecanismo de disipación de energía más efectivo debido a su comportamiento bilineal, lo que lo hace un sistema más atractivo para reducir el daño en el edificio.

BIBLIOGRAFÍA

[1] Atienza, Víctor Manuel Cruz and Singh, Shri Krishna and Schroeder, Mario Ordaz. (2017) "¿ Qué ocurrió el 19 de septiembre de 2017 en México?", Volume 18. Revista digital universitaria 7 1

[2] Karasözen, Ezgi and Büyükakpnar, Pnar and Ertuncay, Deniz and Havazl, Emre and Oral, Elif. (2023) "A call from early-career Turkish scientists: seismic resilience is only feasible with “earthquake culture”", Volume 2. Seismica 3

[3] Midorikawa, Saburoh. (2023) "Strong Ground Motion of the 1923 Kanto, Japan Earthquake", Volume 18. Fuji Technology Press Ltd. Journal of Disaster Research 6 570–577

[4] Galvis, Francisco A. and Miranda, Eduardo and Heresi, Pablo and Dávalos, Héctor and Ruiz-García, Jorge. (2020) "Overview of collapsed buildings in Mexico City after the 19 September 2017 (Mw7. 1) earthquake", Volume 36. SAGE Publications Sage UK: London, England. Earthquake Spectra 2_suppl 83–109

[5] Hernández, F. and Astroza, R. and Ochoa, F. and Pastén, C. (2019) "Razones Estructurales del Colapso de Edificios debido al Terremoto de Puebla-Morelos (Mw 7.1)". de Conference: XII Congreso Chileno de Sismologia e Ingenieria Sismica, Chile

[6] Retamales, R. and Boroschek, R. and Contreras, V. and Lagos, R. and Lafontaine, M. (2015) "Aislación Sísmica Edificio uñoa Capital". XI Congreso Chileno de Sismología e Ingeniería Sísmica

[7] De la Llera, Juan C. and Lüders, Carl and Leigh, Patricio and Sady, Henry. (2004) "Analysis, testing, and implementation of seismic isolation of buildings in Chile", Volume 33. Wiley Online Library. Earthquake engineering & structural dynamics 5 543–574

[8] . (2020) "Instalación de aisladores sísmicos en Espacio Condesa" https://www.mageba-group.com/global/en/1023/LatinAmerica/Mexico/183052/EspacioCondesa-Building.htm

[9] Tena-Colunga, Arturo. (2007) "State of the Art and State of the Practice for energy dissipation and seismic isolation of structures in Mexico". Memorias, 10th World Conference on Seismic Isolation, Energy Dissipation and Active Vibration Control of Structures 101–129

[10] Comisión Federal E. "Manual de Diseño de Obras Civiles, Capítulo C.1.3: Diseño por Sismo". Comisión Federal de Electricidad

[11] Christopoulos, C. and Filiatrault, A. (2006) "Principles of passive supplemental damping and seismic". IUSS Press, Pavia, Italy

[12] Strang, Gilbert. (2007) "Computational science and engineering", Volume 551. Optimization 563 571–586

[13] American Society of Civil Engineers ASCE 7-16. (2017) "Minimum design loads and associated criteria for buildings and other structures". Structural Engineering Institute

[14] Estrada, Aldair. (2023) "Peligro sísmico y espectros de respuesta esperados en la ciudad de Morelia". Maestría en Estructuras. Universidad Michoacana de San Nicolás de Hidalgo

[15] . (2015) "Instituto de Investigaciones Eléctricas (IIE)". Programa de Diseño Sísmico PRODISIS V4.1

[16] . (2017) "Normas Tecnicas Complementarias para diseno por sismo". Gaceta oficial de la Ciudad de Mexico 220

[17] . (2023) "ETABS Building Analysis and Design V1.0.1". Computers and Structures Inc.

[18] Federal Emergency Management Agency (FEMA). (2022) "HAZUS Earthquake Model Technical Manual". FEMA Washington, DC

Back to Top

Document information

Published on 18/09/24
Submitted on 17/11/23

Licence: CC BY-NC-SA license

Document Score

0

Views 30
Recommendations 0

Share this document

claim authorship

Are you one of the authors of this document?