Resumen

En este trabajo se muestra el potencial de los métodos computacionales para analizar la respuesta frente a la acción del viento de los puentes soportados por cables, y se evalúa su capacidad para sustituir a las campañas experimentales en túnel de viento, particularmente en las fases iniciales del diseño. Se ha tomado como caso de estudio el diseño preliminar propuesto para el proyecto real de un puente atirantado continuo con 2 vanos de 650 m y sección transversal en cajón. Así, se han evaluado numéricamente los coeficientes aerodinámicos de la sección transversal y se ha simulado la respuesta no estacionaria frente al desprendimiento de torbellinos utilizando software comercial de mecánica de fluidos computacional. Además, se ha analizado, mediante un código propio, la respuesta de la estructura frente a los fenómenos del flameo y el bataneo utilizando la metodología híbrida y adoptando valores de las funciones experimentales de flameo pertenecientes a una sección transversal de geometría similar. Los resultados computacionales obtenidos se han validado comparándolos con datos experimentales de puentes semejantes publicados por otros autores. Se ha comprobado que el conjunto de métodos adoptados ofrece resultados fiables con costes moderados, por lo que el planteamiento descrito es muy atractivo en la fase inicial del proyecto de puentes de gran vano o en trabajos de diseño conceptual.

Abstract

The possibilities of computational methods for assessing the response of cable supported bridges under wind action are considered in this work. The main objective is to study the possibilities of substituting wind tunnel campaigns by computer based analyses, particularly at the early design stage. The preliminary proposed design for a continuous cable-stayed bridge with two main spans of 650 m and a single box girder deck has been considered as a case study. The force coefficients of the deck cross-section have been computed and the unsteady response associated to vortex-shedding has been simulated using CFD commercial software. Furthermore, an in-house piece of software has been employed to obtain the response for flutter and buffeting phenomena adopting the hybrid approach; with that purpose the experimental flutter functions of a similar box girder deck were adopted. The computational results have been validated by comparison with similar experimental results published by other researchers. It has been verified that the set of adopted methods offers reliable results with moderate costs; therefore, the proposed approach is very suitable at the early design stage of long span bridges or at conceptual design works.

Palabras clave

Coeficientes aerodinámicos ; Desprendimiento de torbellinos ; Flameo ; Bataneo ; Computational Fluid Dynamics ; Puentes de gran vano

Keywords

Force coefficients ; Vortex shedding ; Flutter ; Buffeting ; Computational Fluid Dynamics ; Long span bridges

1. Introducción

Los puentes soportados por cables son estructuras particularmente sensibles a la acción del viento debido a su gran flexibilidad. En consecuencia, en el proyecto de estas estructuras se estudia su respuesta frente a los efectos provocados por el viento, como el flameo (flutter en terminología anglosajona), el desprendimiento de torbellinos (vortex shedding) o el bataneo (buffeting) , entre otros. Esto se viene realizando tradicionalmente mediante ensayos en túneles de viento de modelos seccionales de tableros de puente o de modelos aeroelásticos de puente completo. En general, los métodos experimentales son costosos: la fabricación de modelos es cara y requiere tiempo, particularmente cuando se trata de fabricar un modelo a escala de un puente completo, pues es complejo introducir modificaciones en los modelos cuando la respuesta aerodinámica del prototipo no es adecuada. Por otro lado, los costes de instalación y explotación de los túneles de viento son muy elevados, especialmente en el caso de los de capa límite de gran anchura. Además, dado el número limitado de instalaciones existentes en el mundo, las campañas experimentales se deben planificar —y los tiempos de ensayo reservar— con meses de antelación. En consecuencia, en la mayoría de los casos la respuesta frente al viento de un puente de gran vano no se analiza hasta la fase final del proyecto, cuando es más complejo y costoso introducir modificaciones en el diseño. Existen diversos ejemplos de puentes en los que en la fase final del diseño se detectaron importantes problemas asociados a su respuesta frente a la acción del viento. Entre otros, se pueden citar los casos del puente Vasco de Gama [1] , el puente del Gran Belt en Dinamarca [2] o el puente de Stonecutters en Hong Kong [3] . En todos los casos fue necesario introducir modificaciones en el diseño original y realizar campañas experimentales adicionales con el fin de garantizar la seguridad de la estructura frente a la acción del viento.

La práctica habitual en el diseño en ingeniería de puentes es considerar un abanico de alternativas en la fase inicial del proyecto. A medida que el proceso de diseño avanza, se abandonan muchos de los posibles diseños inicialmente planteados por motivos económicos, técnicos o incluso estéticos. En lo que se refiere a la respuesta frente a la acción del viento, en casi todos los casos las decisiones se toman en base a la experiencia previa del equipo proyectista. Desgraciadamente, esto no garantiza que los diseños finalmente elegidos sean adecuados, como se ha indicado en el párrafo anterior. Además, cuando se consideran diseños semejantes a aquellos que fueron válidos en proyectos anteriores, es prácticamente imposible determinar cuál es el más eficiente en el proyecto concreto en el que se está trabajando y se hace difícil la introducción de innovaciones en el diseño.

Los autores de este trabajo consideran que, gracias al desarrollo de los métodos computacionales que se han producido en el pasado reciente en el ámbito de la ingeniería de viento aplicada a puentes, es posible anticipar, con un grado de precisión adecuado, la respuesta de grandes puentes soportados por cables frente a la acción del viento. Así, para cada una de las alternativas de diseño consideradas es posible evaluar numéricamente los coeficientes aerodinámicos de la sección transversal del tablero. De la misma manera, se puede estudiar el desprendimiento de torbellinos en la sección transversal a baja velocidad de flujo. Utilizando la metodología híbrida desarrollada fundamentalmente por el profesor Scanlan y sus colaboradores, es posible calcular computacionalmente la velocidad crítica de flameo de la estructura, así como la respuesta frente a la acción turbulenta del viento. Es decir, mediante un planteamiento puramente numérico, con la única excepción del cálculo de la velocidad crítica de flameo (para el que se requieren las funciones experimentales de flameo), es posible conocer la respuesta de cada alternativa de diseño ante los principales fenómenos de interés en ingeniería de puentes: flameo, desprendimiento de torbellinos y bataneo. En consecuencia, en la etapa inicial de diseño es posible anticipar con un nivel de precisión adecuado la respuesta frente a la acción del viento de cada propuesta de diseño considerada, sin necesidad de llevar a cabo campañas experimentales en túnel de viento. Esto permite valorar de manera objetiva y realista el comportamiento esperado de cada alternativa de diseño y, de ese modo, elegir la más eficiente teniendo en cuenta todos los condicionantes de diseño, también la respuesta frente al viento. Dado que el fin de la estrategia que se propone en este trabajo es su utilización en las etapas iniciales de diseño, se ha limitado la complejidad de los modelos computacionales empleados para evitar tiempos de computación elevados. En consecuencia, se ha optado por modelos bidimensionales y simulaciones estacionarias cuando no se consideraban respuestas directamente dependientes del tiempo.

2. Descripción del puente objeto de estudio

En los siguientes apartados se explicará con mayor detalle la metodología elegida y se aplicará a un caso real: el diseño preliminar propuesto en 2009 para el Forth Replacement Crossing, un puente atirantado continuo, con 2 vanos principales de 650 m y 2 vanos laterales de 325 m, que sustituirá al puente colgante sobre el estuario del Forth que se inauguró en 1964 y que actualmente presenta problemas de corrosión en los cables principales. En Hussain [4] se pueden encontrar datos generales sobre el diseño preliminar propuesto. En la figura 1 se muestra la geometría de la sección transversal del tablero; se trata de una sección en cajón, con sentidos de circulación separados por una amplia mediana central. En el diseño propuesto se ha considerado la instalación de barreras antiviento de aproximadamente 3 m de altura. En el momento de elaborar este artículo se han publicado diversos trabajos sobre el proyecto de este puente; sin embargo, excepto algunas descripciones genéricas, como por ejemplo en Kite [5] y Ozkan [6] , no se han publicado los datos concretos relativos a la respuesta del diseño propuesto frente a la acción del viento. En consecuencia, no se pueden validar los resultados obtenidos con los correspondientes resultados experimentales de la sección estudiada. Por tanto, los resultados conseguidos se compararán con los obtenidos por otros investigadores para casos semejantes y, cuando finalmente se hagan públicos los resultados del caso estudiado, estos servirán para comprobar los resultados publicados aquí como si de un blind test se tratase.


Sección transversal del diseño preliminar del Forth Replacement Crossing (cotas ...


Figura 1.

Sección transversal del diseño preliminar del Forth Replacement Crossing (cotas en mm).

3. Evaluación computacional de los coeficientes aerodinámicos

Los coeficientes aerodinámicos se definen como las fuerzas promediadas, por unidad de longitud, ejercidas por el viento sobre un cuerpo romo (bluff body) , adimensionalizadas por el producto de la presión dinámica y una dimensión de referencia, que generalmente es la anchura del tablero B (1).

( 1)

En ingeniería de puentes los coeficientes aerodinámicos se representan como una función del ángulo de ataque entre el flujo de aire y el objeto (α), como se indica en la figura 2 . Estos coeficientes permiten caracterizar un determinado cuerpo, puesto que a partir de ellos se puede determinar la acción estacionaria del viento, participan en la evaluación de la respuesta frente al bataneo y proporcionan información sobre la respuesta aeroelástica del puente ya que, para evitar inestabilidades de un grado de libertad, la pendiente de los coeficientes de levantamiento (CL ) y momento (CM ) —de acuerdo con el criterio de signos de la figura 2 — debe ser positiva. Además, cuanto menor sea la pendiente de esos coeficientes, mayor será la velocidad crítica de flameo [7]  and [8] .


Criterio de signos de los coeficientes aerodinámicos.


Figura 2.

Criterio de signos de los coeficientes aerodinámicos.

3.1. Modelo numérico

Para obtener computacionalmente los coeficientes aerodinámicos de la sección transversal estudiada se ha optado por usar software comercial para resolver las ecuaciones de Navier-Stokes considerando un modelo 2D y régimen estacionario. Para ello, en el modelo computacional se ha reproducido la sección de ensayo de un túnel de viento imponiendo condiciones de contorno relativas a la velocidad del flujo de aire en la entrada (1,1% de intensidad de turbulencia y longitud de escala 0,3 B), presión en la salida y condiciones tipo wall en los límites superior e inferior del dominio fluido ( fig. 3 ). La escala geométrica del tablero es 1:80, que es un valor habitual en los ensayos seccionales de tableros de puentes en túneles de viento. Se ha optado por un modelo de turbulencia k-ω SST, que ofrece tiempos de cálculo moderados y una precisión mayor que modelos tipo k-ɛ [9] . De hecho, se ha realizado un modelo semejante en todo al publicado por los autores en Nieto et al. [10] , que ofreció unos resultados de los coeficientes aerodinámicos muy próximos a los que obtuvieron experimentalmente otros investigadores. El mallado general del dominio fluido se ha elaborado utilizando un esquema tipo pave , mientras que para la capa límite alrededor del tablero se ha adoptado una malla tipo map de gran densidad, con elementos cuya altura va aumentando desde 5,8E-5B, que corresponde a los elementos de la primera fila, en contacto con el tablero. El número total de elementos de la malla es del orden de los 260.000. En la figura 4 se muestran 2 imágenes de la malla en una zona próxima al tablero. Las aristas de la sección transversal del tablero se han modelado como aristas «vivas». Las barreras antiviento se han introducido en el modelo como una condición de contorno tipo porous jump .


Dominio fluido.


Figura 3.

Dominio fluido.


Detalle de la malla de volúmenes finitos.


Figura 4.

Detalle de la malla de volúmenes finitos.

3.2. Resultados

Como ya se comentó al describir el caso estudiado, uno de los aspectos que se deben tener en cuenta en el diseño del puente es el efecto que provocan las barreras antiviento desde el punto de vista aerodinámico. En consecuencia, se han obtenido los coeficientes aerodinámicos de la sección desnuda, es decir, sin barreras antiviento, y la sección transversal, con las barreras antiviento. En el momento de realizar esta investigación no se había publicado el diseño definitivo de las barreras, por lo que se optó por modelarlas como una parrilla con una porosidad del 40% (coeficiente de pérdida de carga ζ = 3) [11] . Con posterioridad, en 2011, el equipo proyectista definió la geometría definitiva de las barreras [6] .

Los resultados que se muestran a continuación (fig. 5 ) se han obtenido para un número de Reynolds (Re) = 5,35E + 05, del orden de los empleados en los ensayos en túneles de viento. Con el fin de validar los resultados obtenidos computacionalmente, se han incluido en las gráficas de la figura 5 los coeficientes aerodinámicos de la sección H4.1 de la batería de diseños considerados para el puente del Gran Belt [12] . Se trata de una sección en cajón con una relación anchura-canto B/D = 6,85, no muy diferente de la relación correspondiente a la sección transversal analizada, que es de 8,5. Los resultados de la sección H4.1 se obtuvieron experimentalmente para una intensidad de turbulencia del 7,5%. Se aprecia la semejanza con los coeficientes aerodinámicos de la sección transversal sin barreras antiviento, cosa que permite aceptar el modelo computacional adoptado.


Coeficientes aerodinámicos de la sección desnuda y con barreras antiviento.


Figura 5.

Coeficientes aerodinámicos de la sección desnuda y con barreras antiviento.

En todos los casos analizados la pendiente de los coeficientes aerodinámicos de levantamiento y momento es positiva, lo que descarta el riesgo de inestabilidades de un grado de libertad. El gráfico de coeficientes de arrastre (CD ) presenta la forma parabólica característica, y el efecto que provocan las barreras antiviento se manifiesta en el incremento del coeficiente de arrastre que, para los diversos ángulos de ataque, es aproximadamente el doble del valor obtenido para la sección desnuda.

Un aspecto importante es la validación del modelo realizado de la barrera antiviento. Para un ángulo de ataque de 0°, el coeficiente de presión obtenido numéricamente para la barrera de porosidad del 40% situada aguas arriba y definido según la ecuación 2 es 0,92, que está en concordancia con los valores experimentales de 0,8 obtenidos por Kwon et al. [13] para barreras de porosidad del 50%.

( 2)

En la fórmula anterior, Cp es el coeficiente de presión, P es la fuerza de arrastre sobre la barrera, U es la velocidad de referencia, ρ es la densidad del aire y Ab es el área de la barrera expuesta al flujo incidente.

El efecto que provocan las barreras antiviento en los coeficientes de levantamiento (CL ) y de momento (CM ) es similar: en el rango de ángulos de ataque positivos disminuye la pendiente de esos coeficientes, lo cual es indicativo de un aumento de la estabilidad de la estructura frente a las fuerzas autoexcitadas.

4. Evaluación computacional del desprendimiento de torbellinos

Las vibraciones inducidas por torbellinos pueden provocar problemas importantes en la fase de explotación de grandes puentes colgantes y, en consecuencia, la respuesta de la estructura frente a este fenómeno se debe tener en cuenta ya en las etapas iniciales del diseño [14] . Ya se ha indicado que la geometría de la sección transversal propuesta en el diseño preliminar del Forth Replacement Crossing es similar a la del puente del Gran Belt. Según se ha publicado en Larsen [2] , ese puente experimentó importantes movimientos provocados por el desprendimiento de torbellinos para valores de 1,0 < U/fB  < 1,5, siendo U la velocidad del viento, f la frecuencia del modo excitado y B la anchura del tablero. Según los estudios realizados por Jacobs-Arup para Transport Scotland [15] , la frecuencia natural del primer modo vertical simétrico es 0,303 Hz para un tablero en cajón ortótropo y 0,281 Hz para un cajón mixto. Teniendo en cuenta la información anterior y los factores de escala correspondientes, una velocidad de flujo 1,3 m/s < U  < 2,1 m/s en el modelo computacional desarrollado podría excitar la primera frecuencia vertical de la estructura. Para evaluar de manera preliminar el riesgo de excitación del tablero por desprendimiento de torbellinos se ha realizado una simulación con una velocidad de flujo de 1,75 m/s (Re = 6,23E + 04), tanto para la sección desnuda como para la dotada de barreras antiviento.

4.1. Modelo numérico

En este caso se han utilizado modelos 2D no estacionarios para simular la evolución temporal del flujo alrededor del tablero que se mantiene estático. El avance en el tiempo se ha llevado a cabo con un esquema implícito de segundo orden, utilizando un incremento de tiempo adimensional de 0,033. Los restantes parámetros han sido semejantes a los descritos para el cómputo de los coeficientes aerodinámicos y se han utilizado las mismas mallas de volúmenes finitos.

4.2. Resultados

El la figura 6 se muestran los campos instantáneos de vorticidad para las 2 configuraciones consideradas, sección desnuda y dotada de barreras, junto con la evolución temporal de los coeficientes de levantamiento y momento. Para la sección sin barrera antiviento la respuesta temporal es perfectamente estacionaria, sin que se aprecie la creación de torbellinos en la estela. Para la sección con barreras antiviento se aprecian ciertas oscilaciones de baja amplitud en el registro temporal del coeficiente de levantamiento; sin embargo, estas ni obedecen a un patrón periódico ni existe una frecuencia dominante. De la misma manera, en el campo instantáneo de vorticidad no se identifican estructuras coherentes de remolinos en la estela de la sección, por lo que en esta primera aproximación al fenómeno no se detecta un riesgo manifiesto de vibraciones provocadas por torbellinos. La respuesta obtenida es concordante con el trabajo publicado por Ozkan et al. [6] , en el que se indica que en la campaña de ensayos en túnel de viento realizada en 2008 la sección en cajón mostró un comportamiento satisfactorio en relación con el desprendimiento de torbellinos.


Respuesta frente al fenómeno del desprendimiento de torbellinos. a) Sección ...


Figura 6.

Respuesta frente al fenómeno del desprendimiento de torbellinos. a) Sección desnuda: campo instantáneo de vorticidad (0,100). b) Sección con barreras antiviento: campo instantáneo de vorticidad (0,100). c) Evolución temporal de los coeficientes de levantamiento y momento para la sección desnuda y dotada de barreras antiviento.

5. Análisis frente al fenómeno del flameo

Siempre se debe tener en cuenta la respuesta de los puentes de gran vano frente al fenómeno del flameo, ya que este puede provocar el colapso de la estructura. El modo de garantizar la seguridad de un puente frente al flameo es establecer, entre los requisitos de diseño, una velocidad mínima de viento, de tal manera que la velocidad crítica de flameo de la estructura —es decir, la velocidad de viento para la que las fuerzas autoexcitadas dejan de amortiguarse— supere a esa velocidad mínima. Por ejemplo, para el puente Vasco da Gama se estableció una velocidad mínima para el fenómeno del flameo de 69,5 m/s (250 km/h) [1] , para el puente del Gran Belt se estableció un límite inferior de 60 m/s, y para el puente del estrecho de Akashi, de 78 m/s [16] . En el momento de realizar esta investigación no se ha publicado la velocidad mínima de flameo que debe satisfacer el puente estudiado. Sin embargo, de acuerdo con los requerimientos exigidos a otros puentes construidos en los últimos años, se podrían considerar seguras velocidades críticas de flameo superiores a los 70 m/s, sobre todo teniendo en cuenta que la costa este de Escocia no es una zona afectada por vientos de gran intensidad.

5.1. Estrategia de análisis y modelo estructural

La metodología híbrida permite determinar la velocidad crítica de flameo de los puentes de gran vano. La metodología se denomina híbrida porque consta de 2 etapas: una primera en la que se determinan las funciones de flameo mediante ensayos en túnel de viento de modelos seccionales de tableros de puente, y una segunda en la que se resuelve computacionalmente un problema no lineal de valores propios que permite identificar la velocidad de viento para la que se produce el flameo incipiente (amortiguamiento nulo de las fuerzas autoexcitadas).

Respecto a la primera etapa, como ya se ha comentado en la introducción, este trabajo pretende poner de manifiesto la capacidad de los métodos numéricos para determinar la respuesta frente a la acción del viento de los puentes de gran vano, particularmente en las etapas iniciales del proceso de diseño, cuando se pretende evaluar el comportamiento de varias de las alternativas consideradas. En consecuencia, al no disponer de las funciones experimentales de flameo de la sección estudiada, se ha optado por usar 8 de las funciones de flameo de una sección transversal semejante a la analizada, como es la del puente del Gran Belt [17] , cuya similitud desde el punto de vista aerodinámico se ha puesto de manifiesto al comparar los coeficientes aerodinámicos de ambas secciones transversales en la figura 5 . Como complemento al planteamiento anterior, se ha evaluado también la velocidad de flameo considerando las 18 funciones de flameo de la sección en cajón del diseño propuesto para el puente atirantado de Os Miradoiros, que posee una relación anchura-canto de 11,33 [18] . En la figura 7 se presentan las funciones de flameo utilizadas en este trabajo.


Funciones de flameo.


Figura 7.

Funciones de flameo.

La etapa computacional tiene como punto de partida la elaboración de un modelo de elementos finitos que permite determinar las frecuencias naturales y modos propios de la estructura considerando la no linealidad geométrica. En la tabla 1 se indican las principales propiedades estructurales consideradas en la elaboración del modelo estructural, mientras que en la figura 8 se muestra el modelo de barras elaborado con el programa Abaqus. En la tabla 2 se facilitan las frecuencias naturales obtenidas y se comparan con los datos publicados por la consultora responsable del diseño preliminar, lo que permite dar por bueno el modelo estructural elaborado.

Tabla 1. Propiedades estructurales del modelo
Longitud vano principal (m) 650
Longitud vanos laterales (m) 325 (105 + 220)
Momento de inercia eje horizontal Iy (m4 ) 4,0
Momento de inercia eje vertical Iz (m4 ) 186,83
Momento de inercia a tosión J (m4 ) 17,84
Masa del tablero (t/m) 25,51
Momento de inercia polar del tablero (tm2 /m) 2.898,5
Amortiguamiento estructural 0,00318


Modelo de elementos finitos del Forth Replacement Crossing.


Figura 8.

Modelo de elementos finitos del Forth Replacement Crossing.

Tabla 2. Frecuencias naturales y modos propios del Forth Replacement Crossing
Modo f (Hz) ARUP [14] Tipo
1 0,220 0,23 V1A
2 0,220 L1A
3 0,268 L1S
4 0,329 0,30 V1S
5 0,339 V2A
6 0,484 V2S
7 0,493 V3A
8 0,545 0,52 T1S
9 0,550 T1A
10 0,609 V3S
11 0,626 V4A
12 0,637 Lt 2A
13 0,669 V
14 0,682 Lt 2S
15 0,694 V
16 0,702 V
17 0,864 V
18 0,882 V
19 0,992 V
20 1,076 V
21 1,079 T2S
22 1,091 T2A

La etapa computacional continúa estableciendo el equilibrio dinámico bajo la acción de las fuerzas aeroelásticas y aplicando la descomposición modal para llegar a un problema no lineal de valores y vectores propios que permite identificar la velocidad crítica de flameo. La formulación completa y detallada del problema del flameo utilizando la metodología híbrida se puede encontrar, entre otras referencias, en Jurado et al. [19] .

5.2. Resultados

En la tabla 3 se muestran los valores de velocidad crítica de flameo obtenidos para varios subconjuntos de modos propios de vibración. Puede apreciarse cómo en todos los casos la velocidad crítica de flameo está muy por encima de los 100 m/s, lo cual indica un riesgo muy bajo de inestabilidad aeroelástica. Se puede concluir también que la respuesta frente al flameo viene determinada por la combinación de los primeros modos simétricos verticales y de torsión. Conviene tener presente que el modelo estructural considerado corresponde al diseño preliminar propuesto, y que tan solo las funciones experimentales de flameo han sido aproximadas por las de otras secciones en cajón de geometría semejante, disponibles en la literatura.

Tabla 3. Velocidades críticas de flameo para diversas funciones de flameo y combinaciones de modos
Funciones de flameo Combinación de modos Velocidad crítica de flameo (m/s)
Gran Belt [17] 4,8,9 134
1,4,5,8,9,12,14,21,22 135
1,2,3,…,22 134
Miradoiros [18] 1,2,3,…,22 118

En la figura 9 , para una de las combinaciones de modos propios consideradas y de funciones de flameo del puente del Gran Belt, se muestra la evolución de las partes real e imaginaria de los autovalores aeroelásticos para velocidades crecientes del viento hasta alcanzar la situación de amortiguamiento nulo (flameo incipiente).


Evolución de los autovalores aeroelásticos en función de la velocidad de viento.


Figura 9.

Evolución de los autovalores aeroelásticos en función de la velocidad de viento.

6. Análisis frente al fenómeno del bataneo

La naturaleza turbulenta del viento da lugar a acciones no estacionarias sobre las estructuras, fenómeno que se conoce como bataneo. Se trata, por tanto, de una acción dinámica que produce vibraciones en los puentes de gran vano debido a la interacción entre el fluido y los propios movimientos de la estructura.

6.1. Formulación

La ecuación de equilibrio dinámico cuando actúan fuerzas aeroelásticas y de bataneo se plantea de la siguiente manera:

Failed to parse (syntax error): \boldsymbol{\mbox{M}}⁡\ddot{\boldsymbol{\mbox{u}}}+

Failed to parse (syntax error): \boldsymbol{\mbox{C}}⁡\dot{\boldsymbol{\mbox{u}}}+

( 3)

donde M , C y K son respectivamente las matrices de masa, amortiguaminto y rigidez, fa es el vector de fuerzas aeroelásticas y fb es el vector de fuerzas de bataneo que actúan sobre el tablero del puente.

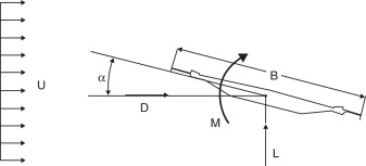
Las fuerzas aeroelásticas, según se indica en (4), son función de la presión dinámica, de la frecuencia reducida K , de la anchura del tablero B   , de las 18 funciones experimentales de flameo y de los movimientos y las velocidades del tablero de acuerdo con la nomenclatura y criterio de signos indicados en la figura 10

( 4)

que en forma compacta puede expresarse de la manera siguiente:

Failed to parse (syntax error): \boldsymbol{\mbox{f}}_a=\boldsymbol{\mbox{C}}_a⁡\dot{\boldsymbol{\mbox{u}}}+

( 5)


Criterio de signos de los movimientos y las fuerzas aeroelásticas.


Figura 10.

Criterio de signos de los movimientos y las fuerzas aeroelásticas.

Por su parte, las fuerzas de bataneo se expresan a partir del producto de una matriz Pb y el vector que contiene las fluctuaciones de naturaleza turbulenta de la velocidad de viento wb , en la dirección longitudinal del viento vv y en la vertical wv . La matriz Pb contiene los coeficientes aerodinámicos CD , CL y CM , sus derivadas respecto al ángulo de ataque C’D , C’L y C’M , así como las funciones de admitancia , que permiten tener en cuenta la dependencia de los coeficientes aerodinámicos con respecto a la frecuencia

( 6)

Utilizando el análisis modal en (3), y suponiendo que los movimientos se pueden expresar como u  = Φq , donde Φ es la matriz modal, se obtiene:

Failed to parse (syntax error): \boldsymbol{\mbox{I}}⁡\ddot{\boldsymbol{\mbox{q}}}⁡+

Failed to parse (syntax error): \boldsymbol{\mbox{C}}_R⁡\dot{\boldsymbol{\mbox{q}}}+

( 7)

donde las matrices de amortiguamiento y rigidez reducidas son CR  = ΦT (C  − CaΦ ) y KR  = ΦT (K  − KaΦ ). Asumiendo que la respuesta tiene la forma q  = weiωt , la transformada de Fourier de (3) resulta:

( 8)

La respuesta puede ser calculada para cada frecuencia ω resolviendo:

( 9)

donde H es la matriz de transferencia y el símbolo indica que la variable pertenece al dominio de la frecuencia.

Las características del viento turbulento pueden describirse mediante los espectros de las fluctuaciones. Así, la matriz espectral del viento se define a partir de los espectros y espectros cruzados de las fluctuaciones en 2 puntos i, j:

( 10)

donde el espectro cruzado se define a partir de la función de coherencia γ , que tiene habitualmente forma exponencial:

( 11)

La matriz espectral para las fuerzas de bataneo entre 2 puntos i, j se puede calcular como:

( 12)

donde el símbolo *T indica que se trata de la transpuesta de la matriz conjugada. Ensamblando la matriz espectral global para las fuerzas de bataneo SFb , la matriz espectral global de los movimientos de la estructuras se obtiene mediante la siguiente operación matricial:

( 13)

Finalmente, la varianza de los movimientos, velocidades o aceleraciones del tablero se calculan integrando los términos de la diagonal principal de SU

( 14)

6.2. Resultados

La formulación anterior se ha aplicado al caso del Forth Replacement Crossing para velocidades crecientes de viento, hasta alcanzar los 61,4 m/s. Los coeficientes aerodinámicos considerados se han evaluado computacionalmente para la sección transversal sin barreras antiviento, y se han considerado las funciones de flameo del puente del Gran Belt [17] . Las fluctuaciones de la velocidad de viento se han modelado adoptando el espectro de Kaimal [20] :

( 15)

donde z es la altura, U es la velocidad de viento, f es la frecuencia y u* es la velocidad de fricción.

Los espectros de frecuencia de las fluctuaciones de viento se muestran en la figura 11 , mientras que en la figura 12 se presentan las funciones de coherencia.


Espectros de las fluctuaciones de viento.


Figura 11.

Espectros de las fluctuaciones de viento.


Funciones de coherencia.


Figura 12.

Funciones de coherencia.

En la figura 13 se muestran los resultados de la desviación estándar de los movimientos del tablero para valores crecientes de la velocidad de viento.


Desviación estándar de los movimientos del tablero para velocidades crecientes ...


Figura 13.

Desviación estándar de los movimientos del tablero para velocidades crecientes de viento.

Los resultados obtenidos en el presente estudio son del mismo orden de magnitud que los publicados por Zhu et al. [21] para un puente atirantado de 648 m de vano principal y sección en cajón, ya que mediante ensayos en túnel de viento de capa límite se obtuvieron desviaciones estándar en el centro de vano para una velocidad de viento de 39,4 m/s de aproximadamente 0,015 m para el movimiento horizontal, 0,1 m para el movimiento vertical y 0,05° para el giro de torsión.

7. Conclusiones

En el presente trabajo se han utilizado técnicas exclusivamente computacionales para realizar una evaluación preliminar de la respuesta del diseño propuesto en el año 2009 para el Forth Replacement Crossing. Tan solo ha sido necesario recurrir a datos experimentales disponibles en la literatura para estimar las funciones de flameo que intervienen en el cálculo de la respuesta frente al flameo y el bataneo. No se ha considerado la evaluación numérica de las funciones de flameo debido a su alto coste computacional, que invalidaría la metodología propuesta para su aplicación en procesos de diseño reales, así como la notable dispersión existente en los resultados publicados por diferentes autores, cosa que indica que se trata de un problema que, con carácter general, actualmente no está resuelto.

En el momento de realizar este trabajo no se han publicado datos técnicos relativos a la respuesta aerodinámica y aeroelástica del diseño considerado. Por tanto, los resultados computacionales obtenidos se han validado mediante su comparación con resultados experimentales de puentes con secciones transversales semejantes. De este modo, los coeficientes aerodinámicos de la sección transversal sin barreras antiviento se han comparado satisfactoriamente con los de la sección en cajón H4.1, perteneciente a los estudios realizados para el puente del Gran Belt. Se han comparado las fuerzas sobre la barrera de porosidad del 40% con el coeficiente de presión obtenido experimentalmente para barreras de porosidad del 50%. No se ha detectado desprendimiento de torbellinos en las secciones estudiadas, lo que coincide con el comportamiento descrito en otras publicaciones para la sección analizada. Además, se ha comprobado que la velocidad crítica de flameo es muy superior a los valores normalmente establecidos como mínimo, lo cual es lógico dada la rigidez de la estructura y el buen comportamiento que tienen las secciones aerodinámicas en general frente al flameo, y la respuesta obtenida coincide con la información facilitada por Ozkan et al. [6] , donde se indica que el tablero mostró completa estabilidad incluso por encima de la velocidad de diseño. Finalmente, los resultados de desviación estándar de los movimientos del tablero debidos al bataneo han sido del mismo orden de magnitud que los publicados por otros investigadores que han estudiado experimentalmente puentes atirantados de longitud de vano principal semejante a cada uno de los principales del Forth Replacement Crossing. Teniendo en cuenta los comentarios anteriores, se considera que la metodología propuesta ofrece una precisión más que adecuada para las fases de diseño inicial en proyectos de grandes puentes colgantes, ofrece información precisa relativa a los principales fenómenos que se deben considerar en este tipo de estructuras, y los costes, tanto de medios materiales como de tiempo, son muy inferiores a los que se requieren para llevar a cabo campañas experimentales.

Agradecimientos

Este trabajo de investigación ha sido financiado a través del proyecto de investigación del Ministerio de Economía y Competitividad BIA-2010-19989.

Se desea reconocer el trabajo realizado en las tareas de análisis de la respuesta frente al flameo y al bataneo por Antía Troche, becaria de investigación del Grupo de Mecánica de Estructuras, al que pertenecen los autores.

Bibliografía

  1. [1] P.A. Mendes, F.A. Branco, J.G. Saraiva; Numerical simulation of the aeroelastic behaviour of Vasco da Gama Bridge; International Conference New Technologies in Structural Engineering, Lisbon, Portugal, July 2-5 (1997)
  2. [2] A. Larsen, S. Esdahl, J.E. Andersen, T. Vejrum; Storebaelt suspension bridge—vortex shedding excitation and mitigation by guide vanes; Journal of Wind Engineering and Industrial Aerodynamics, 88 (2-3) (2000), pp. 283–296
  3. [3] A. Larsen, M. Savage, A. Lafrenière, M.C.H. Hui, V. Larsen; Investigation of vortex response of a twin box bridge at high and low Reynolds numbers; Journal of Wind Engineering and Industrial Aerodynamics, 96 (6-7) (2008), pp. 933–944
  4. [4] N. Hussain; Boutique Footbridges to Major Crossings; Middle East Bridges Design and Engineering Summit, Abu Dhabi, UAE (2009)
  5. [5] S. Kite, M. Carter, B. Minto; Design of the Forth Replacement Crossing, Scotland, UK; K.M. Mahmoud (Ed.), Modern Techniques in Bridge Engineering, CRC Press (2011)
  6. [6] E. Ozkan, D. Rocchi, A. Allsop, S. Kite, A. Zasso, B. Minto; The aerodynamic performance of Forth Replacement Crossing; 13th International Conference on Wind Engineering, Amsterdam, Netherlands (2011)
  7. [7] G.L. Larose, F.M. Livesey; Performance of streamlined bridge decks in relation to the aerodynamics of a flat plate; Journal of Wind Engineering and Industrial Aerodynamics, 69-71 (1997), pp. 851–860
  8. [8] Diana G, Belloli M, Rocchi D, Resta F, Zasso A. Sensitivity analysis on the effects of different aerodynamic devices on the behaviour of a bridge deck. 12th International Conference on Wind Engineering, Cairns, Australia; 2007.
  9. [9] D. Sun, N.G. Wright, J.S. Owen, K. Liaw; Identification of 18 flutter derivatives using CFD turbulence modeling. The Fourth European & African Conference on Wind Engineering; Czech Republic, Prague (2005)
  10. [10] F. Nieto, I. Kusano, S. Hernández, J.A. Jurado; CFD analysis of the vortex-shedding response of a twin-box deck cable-stayed bridge; The Fifth International Symposium on Computational Wind Engineering, Chapel Hill, NC, USA (2010)
  11. [11] I.E. Idel’cik, Memento des pertes de charge, Collection de la Direction des Etudes et Recherches d’Electricité de France, 1969.
  12. [12] T.A. Reinhold, M. Brinch, A. Damsgaard; Wind tunnel tests for the Great Belt Link; A. Larsen (Ed.), Aerodynamics of Large Bridges, Balkema, Rotterdam (1992)
  13. [13] S.D. Kwon, D.H. Ki, S.H. Lee, H.S. Song; Design criteria of wind barriers for traffic. Part 1: Wind barrier performance; Wind & Structures, 14 (1) (2011), pp. 55–70
  14. [14] Y. Ge, Y. Yang, F. Cao; VIV Sectional Model Testing and Field Measurement of Xihoumen Suspension Bridge with Twin Box Girder; 13th International Conference on Wind Engineering, Amsterdam, Netherlands (2011)
  15. [15] Transport Scotland. Forth Replacement Crossing: Main Crossing (Bridge) Scheme Assessment Report Development of D2M Alternatives, 2009.
  16. [16] G. Diana, F. Cheli, A. Collina, S. Bruni, A. Zasso; Aerodynamic design of very long-span suspension bridges; Long-Span and High-Rise Structures, IABSE, Symposium, Kobe (1998)
  17. [17] D. Cobo; An analysis of wind stability. Improvements to the response of suspension bridges [tesis doctoral]; Universitat Politècnica de Catalunya, ETS d’Enginyers de Camins, Canals i Ports, Barcelona (1998)
  18. [18] J.A. Jurado, S. Hernández, A. Baldomir, F. Nieto; Aeroelastic Analysis of Miradoiros Bridge in La Coruña (Spain); 5th European & African Conference on Wind Engineering, Florence, Italy (2009)
  19. [19] J.A. Jurado, S. Hernández, F. Nieto, A. Mosquera; Bridge Aeroelasticity: Sensitivity analysis and optimum design; WIT Press, Southampton (2011)
  20. [20] E. Simiu, R. Scanlan; Wind Effects on Structures; John Wiley & Sons, New York (1996)
  21. [21] L.D. Zhu, M. Wang, D.L. Wang, Z.S. Guo, F.C. Cao; Flutter and buffeting performances of Third Nanjing Bridge over Yangtze River under yaw wind via aeroelastic model test; Journal of Wind Engineering and Industrial Aerodynamics, 95 (2007), pp. 1579–1606
Back to Top

Document information

Published on 01/06/14
Accepted on 20/03/12
Submitted on 15/02/12

Volume 30, Issue 2, 2014
DOI: 10.1016/j.rimni.2013.03.001
Licence: Other

Document Score

0

Times cited: 1
Views 85
Recommendations 0

Share this document

claim authorship

Are you one of the authors of this document?